EasyManua.ls Logo

Labcyte Echo 550 - 1536-Plate to 384-Plate Liquid Transfer

Default Icon
200 pages
Print Icon
To Next Page IconTo Next Page
To Next Page IconTo Next Page
To Previous Page IconTo Previous Page
To Previous Page IconTo Previous Page
Loading...
1-16 Echo Liquid Handler User Manual
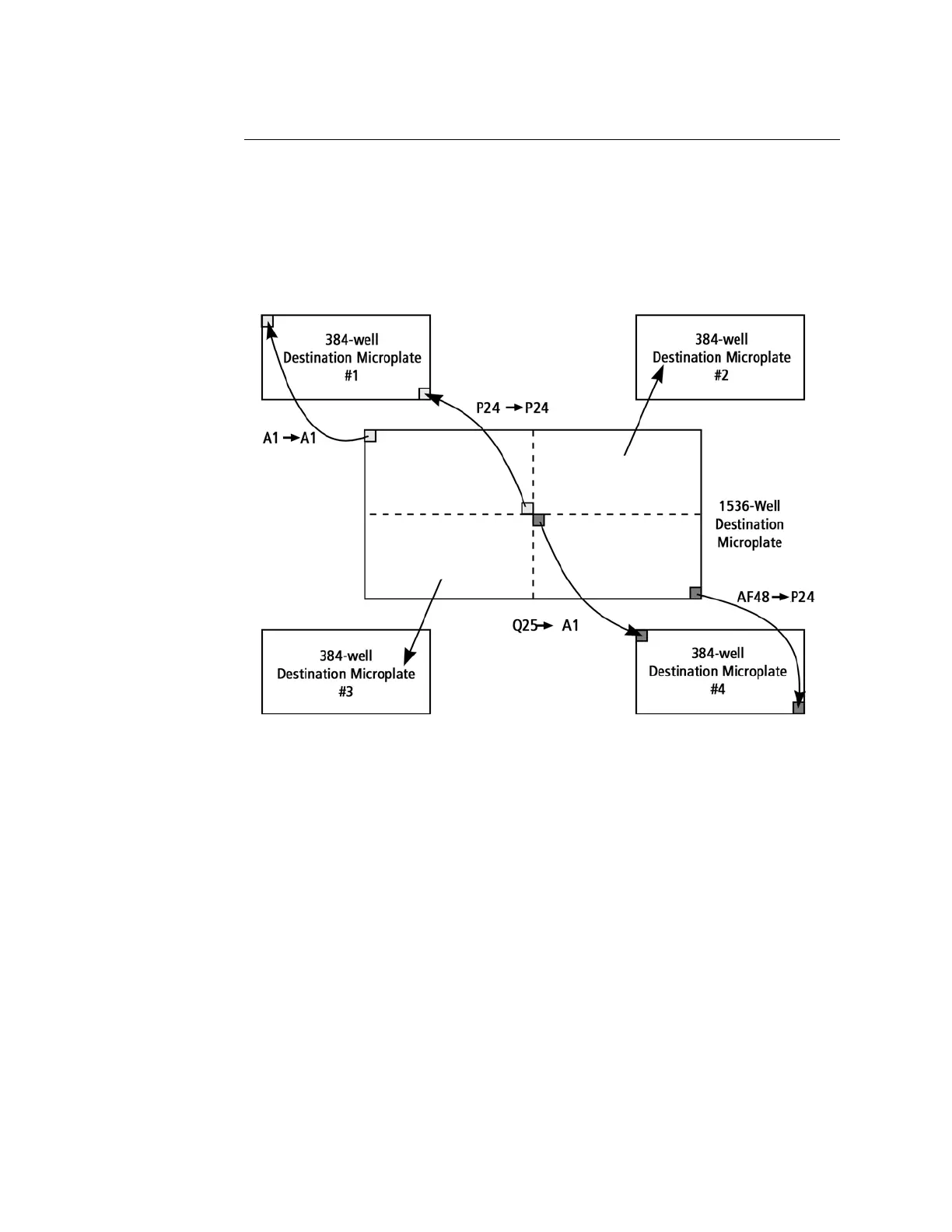
1.3.4 1536-plate to 384-plate liquid transfer
Figure 1.12 illustrates a 1536-well to 384-well quadrant fluid transfer.
Wells from a single 1536-well plate can be transferred, or destacked, to
four 384-well plates. Individual wells or all wells from each quadrant can be
transferred to the corresponding wells in the destination plate.
Figure 1.12 1536 to 384 quadrant full plate transfer

Table of Contents

Related product manuals