EasyManua.ls Logo

Lenovo ThinlStation P330 - Device in the Flex Bay

Lenovo ThinlStation P330
224 pages
Print Icon
To Next Page IconTo Next Page
To Next Page IconTo Next Page
To Previous Page IconTo Previous Page
To Previous Page IconTo Previous Page
Loading...
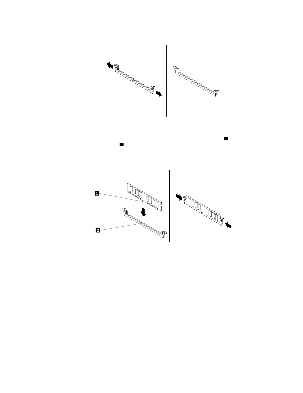
a. Open the retaining clips of the memory slot.
Figure 49. Opening the retaining clips
b. Position the new memory module over the memory slot. Ensure that the notch 1 on the memory
module is aligned with the key
2 in the slot. Push the memory module straight down into the slot until
the retaining clips completely close.
Note: Do not touch the circuit board of the memory module.
Figure 50. Installing a memory module
7. Reinstall any PCIe cards if you have removed them.
What to do next:
To work with another piece of hardware, go to the appropriate section.
To complete the installation or replacement, go to “Completing the parts replacement” on page 187.
Device in the flex bay
Attention: Do not open your computer or attempt any repair before reading and understanding the Chapter
1 “Read this first: Important safety information” on page 1.
Some computer models come with a flex bay. Depending on your computer model, one of the following
devices might be installed in the flex bay:
Flex module
Flex storage enclosure
Chapter 9. Hardware removal and installation 117

Table of Contents

Related product manuals