EasyManua.ls Logo

Logosol PH360 - Electrical Schematic (230 V 3-Phase); Circuit Diagram for 230 V Operation

Logosol PH360
44 pages
Print Icon
To Next Page IconTo Next Page
To Next Page IconTo Next Page
To Previous Page IconTo Previous Page
To Previous Page IconTo Previous Page
Loading...
26
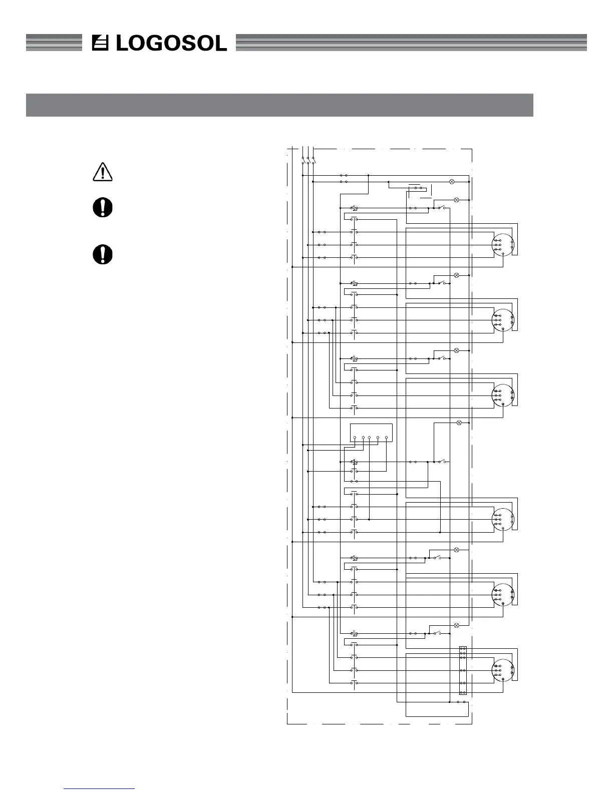
ELECTRICAL SCHEMATIC
2
1
L3
L3
T3
T3
KONT.
KONT.
KONT.
KONT.
KONT.
KONT.
L2
L2
T2
T2
L1
L1
T1
T1
A1
A1
A2
A2
TILL
TILL
4
4
3
3
3
3
2
2
1
1
4
4
5
5
TERMOKONT.
TERMOKONT.
TILL
TILL
VIT LAMPA
VIT LAMPA
MOTOR
MOTOR
MATNINGSMOTOR
K5
K5
GUL/GRÖN
GUL/GRÖN
5
5
L3 T3
KONT.
KONT.
KONT.
L2 T2
L1 T1
4 3
3
2
1
4
5
C1
L2 V2 I SP
A1 A2
4 3
2 1
BROMSKORT 230V
K4
TERMOKONT.
MOTOR
GUL/GRÖN
ÖVERKUTTER
L3 T3
KONT.
KONT.
KONT.
L2 T2
L1 T1
A1 A2
HUVBR.
TILL
4 3
3
2
1
4
5
TERMOKONT.
L3 T3
KONT.
KONT.
KONT.
L2 T2
L1 T1
A1 A2
TILL
4 3
3
2
1
4
5
TERMOKONT.
L3 T3
KONT.
KONT.
KONT.
L2 T2
L1 T1
A1 A2
TILL
4 3
3
2
1
4
5
TERMOKONT.
TILL
VIT LAMPA
TILL
VIT LAMPA
TILL
VIT LAMPA
VIT LAMPA
MOTOR
1
MOTOR
2
MOTOR
3
UNDERKUTTER
K1
K2
K3
SPÄNNING PÅ
GUL/GRÖN
GUL/GRÖN
GUL/GRÖN
VERTIKALKUTTER (HÖGER)
VERTIKALKUTTER (VÄNSTER)
MANÖVERPANEL
L1 L2 L3
4
TILL
TILL
VIT LAMPA
Jord
FUSE 16 A (x3)
FUSE 16 A (x3)
FUSE 16 A (x3)
FRÅN
FRÅN
FRÅN
FRÅN
FRÅN
FRÅN
NÖDSTOPP
FLÄKTMOTOR/ 5te KUTTER
PLINT
FUSE 20 A (x3)
SÄKRING 1 A
SÄKRING 1 A
ELSCHEMA PANELHYVEL PH360, 230 VOLT 3-fas, 50 A
ELECTRICAL SCHEMATIC
230 V 3-PHASE (50 Hz)
Lethal voltage. Incorrect connec-
tion is potentially fatal.
Note that you need authorization
to open or intervene in the electri-
cal equipment.
Ensure that the power supply is
switched off before you open the
system.

Related product manuals