EasyManua.ls Logo

LS U5020 - Page 46

Default Icon
110 pages
Print Icon
To Next Page IconTo Next Page
To Next Page IconTo Next Page
To Previous Page IconTo Previous Page
To Previous Page IconTo Previous Page
Loading...
U5030 / U5030C
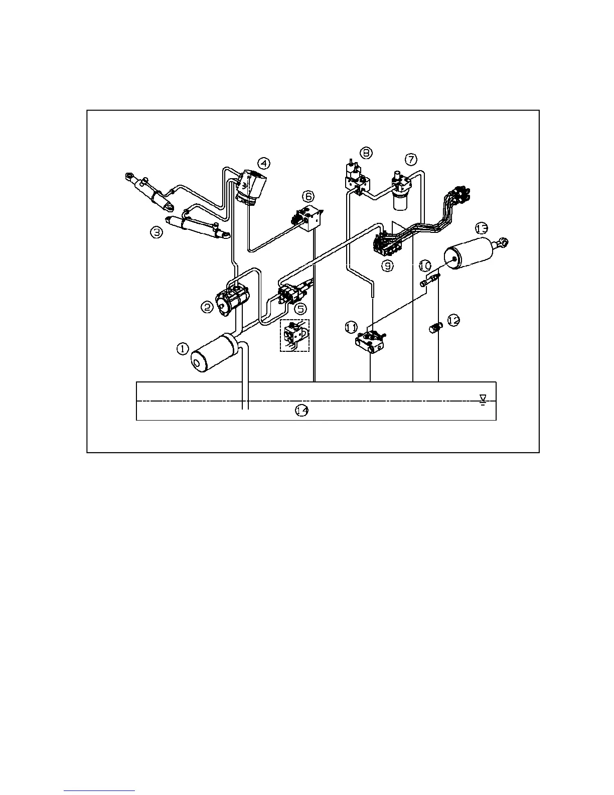
1. Hydraulic oil filter
2. Hydraulic pump
3. Steering cylinder
6. Independent PTO valve
7. In-line filter (option)
8. Auto leveler valve (option)
11. Hydraulic lift control valve
12. Safety valve
13. Hydraulic lift cylinder
3
3 3
3 - 21
4. Power steering unit
5. Front loader valve
Front outlet valve (option)
9. Remote control valve
10. Drop speed control valve
14. Oil tank(Transmission case)

Table of Contents

Related product manuals