EasyManua.ls Logo

MATO MTS600R - Coordinate Measurement; Station Construction

Default Icon
90 pages
Print Icon
To Next Page IconTo Next Page
To Next Page IconTo Next Page
To Previous Page IconTo Previous Page
To Previous Page IconTo Previous Page
Loading...
MTS600 Instruction Manual
27
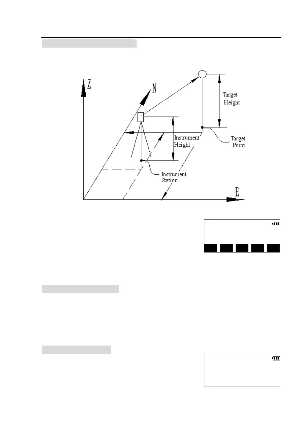
4.3 Coordinate measurement
By measuring the angle and the distance of target point, MTS-600 can get the
three-dimensional coordinates of the target points (N, E, Z).
After power on, press [COORD] key on panel to enter
the coordinate measurement mode.
4.3.1 Station construction
Before coordinate measurement, the coordinate system should be established at
first ,by inputting the coordinates of instrument station and the direction angle of
backsight point (this process call it "station construction"), if the Z coordinate of
the target point need to be measured, the instrument height and the prism height
should be inputted also.
(1) Entering station data
In the coordinate measurement mode, press
[SET].
Crd. N
E
Z
MEAS SET MODE EDM HT
Coord.Meas./Set up
F1-Station data
F2-STN orientation
F3-Prism height

Table of Contents

Related product manuals