EasyManua.ls Logo

MATO MTS600R - Remote Elevation Measurement

Default Icon
90 pages
Print Icon
To Next Page IconTo Next Page
To Next Page IconTo Next Page
To Previous Page IconTo Previous Page
To Previous Page IconTo Previous Page
Loading...
MTS600 Instruction Manual
66
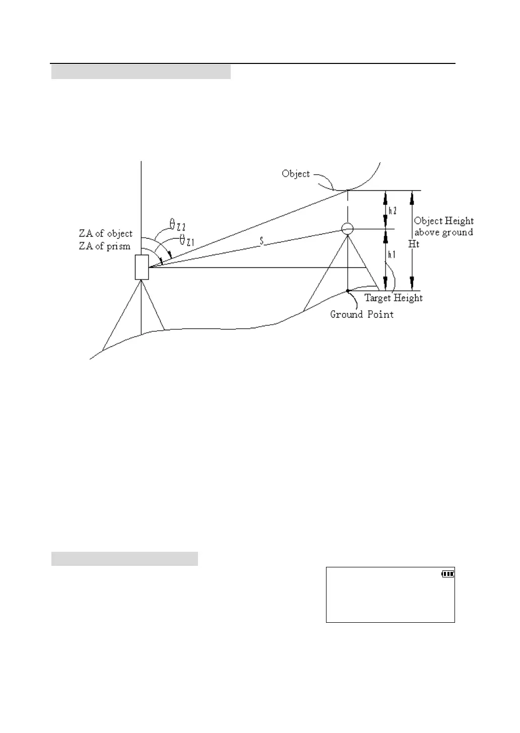
9.4 Remote elevation measurement
Remote elevation measurement (REM) is used to measure the height to a point
where a prism cannot be directly installed such as power lines , bridge and
overhead cables, etc.)
The height of the target is calculated using the following formula
h2=Ssinθ
z1
×cotθ
z2
Scosθ
z1
Ht=h1+h2
MTS-600 has two REM measurement mode:use a prism height or not use. When
using a prism height, the REM will select the prism as a reference point. If no
prism height is used, the REM will select ground point of the prism as a reference
point.
9.4.1 With prism height input
Place the prism directly under or directly over the
object and measure the prism height with a tape
measure etc.
In the second page of <Program> menu, press [F1]
to select "REM".
Select REM Mode
F1-With psm.ht input
F2-Without psm.ht input

Table of Contents

Related product manuals