EasyManua.ls Logo

Mec 2033ES - Page 106

Mec 2033ES
260 pages
Print Icon
To Next Page IconTo Next Page
To Next Page IconTo Next Page
To Previous Page IconTo Previous Page
To Previous Page IconTo Previous Page
Loading...
October 2008 "2033ES - 2633ES" Service & Parts Manual - ANSI Specifications
Page A-8
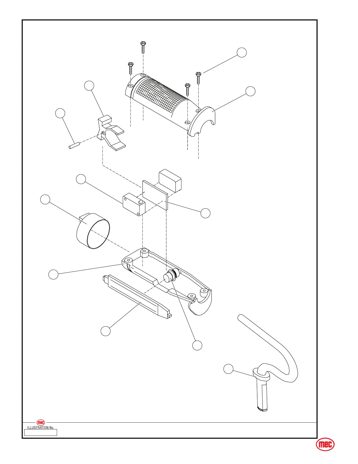
ART_2221
Control Arm (Joystick)Reference: ART_188
3
4
11
12
2
1
6
13
8
5
7

Table of Contents

Related product manuals