EasyManua.ls Logo

Menvier Security TS590 - Control Panel Installation Procedure

Menvier Security TS590
52 pages
Print Icon
To Next Page IconTo Next Page
To Next Page IconTo Next Page
To Previous Page IconTo Previous Page
To Previous Page IconTo Previous Page
Loading...
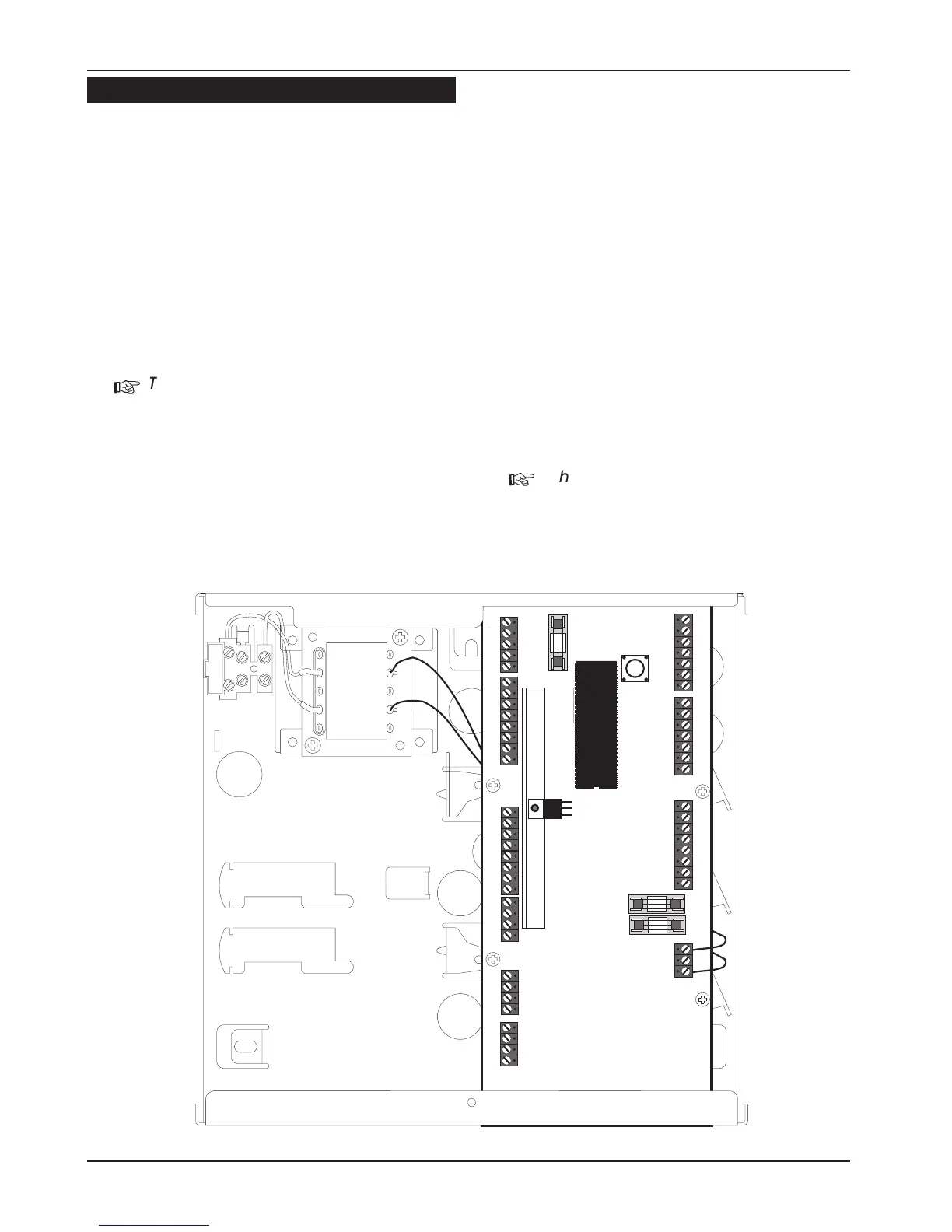
Control Panel Installation
Proceed as follows:
1. Open the control panel by removing two
screws from the front cover. Remove the cover
and disconnect the earth bonding cable from
the spade connection near the transformer.
2. Note the position of the cable entries as
follows:
(a) Ten 20mm cable entries for detection,
alarm and remote keypad cables.
(b) A 20mm cable entry for mains (230V)
below the mains input terminal block.
+
The mains cable must enter the control
panel through its own cable entry and
must not be mixed with other cables.
3. Hold the control panel back box in the required
position and mark the centre of the middle
fixing position. Remove the back box, drill and
plug the hole.
4. Screw a No 10 screw into the plugged hole.
Reposition the back box and mark the
remaining two securing holes. Remove the
back box, drill and plug the holes.
5. Reposition the back box and pass all cables
into the base via the appropriate cable
entries, remembering to fit grommets where
necessary.
6. Secure the back box using not less than 30mm
x No 10 screws through the three securing
holes.
7. If required install and connect the following:
(a) Stand alone digicom or RedCARE STU.
(b) Printer type DATAC or serial RS232 via a
printer adapter (MPA/DCI).
(c) Relay module type RM.3A.
+
When replacing the cover, always
ensure that the earth bonding lead is
connected to the spade connection on
the transformer.
8
System Installation TS590 Installation Manual
Figure 3. TS590 Control Panel Layout

Table of Contents

Related product manuals