EasyManua.ls Logo

Microtest 6630 - High and Low Impedance Criteria

Microtest 6630
94 pages
Print Icon
To Previous Page IconTo Previous Page
To Previous Page IconTo Previous Page
Loading...
89
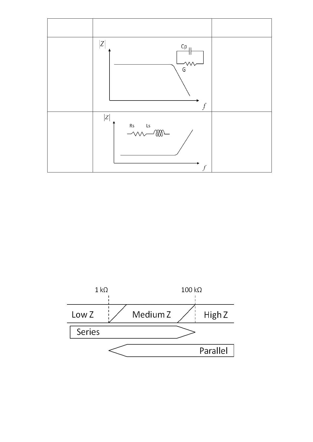
Dut
Characteristics Example
Measurement
Functions
Large R
Cp-G
G-B
Y-θ
Small R
Ls-Rs
R-X
|Z|-θ
High and low impedance criteria
The following criteria can be used to roughly discriminate between low, middle,
and high impedances by following figure. The medium Z range may be covered
with an extension of either the low Z or high Z range. These criteria differ some-
what, depending on the frequency and component type.
In the frequency region where the primary capacitance or inductance of a compo-
nent exhibits almost a flat frequency response, either a series or parallel equiva-
lent circuit can be applied as a suitable model to express the real impedance
characteristic. Practically, the simplest series and parallel models are effective in
most cases when representing characteristics of general capacitor, inductor, and
resistor components.

Table of Contents

Related product manuals