EasyManua.ls Logo

MiniMax CU 300 SMART - Page 26

MiniMax CU 300 SMART
169 pages
Print Icon
To Next Page IconTo Next Page
To Next Page IconTo Next Page
To Previous Page IconTo Previous Page
To Previous Page IconTo Previous Page
Loading...
SPECIFICHE TECNICHE • SPECIFICATIONS
ENGLISHITALIANO
- 26 -
2.
Motori
Dati tecnici: vedi targa di identi-
ficazione sul motore.
Tipo di servizio: S6 - 40%
Condizioni di servizio: vedi Par.
4:2.
Potenza motori 50Hz:
trifase (OPT). .......4 KW - 5 KW
monofase ...................... 2,2 kW
Potenza motori 60Hz:
trifase (OPT). ................ 4,8 KW
monofase ...................... 4,8 KW
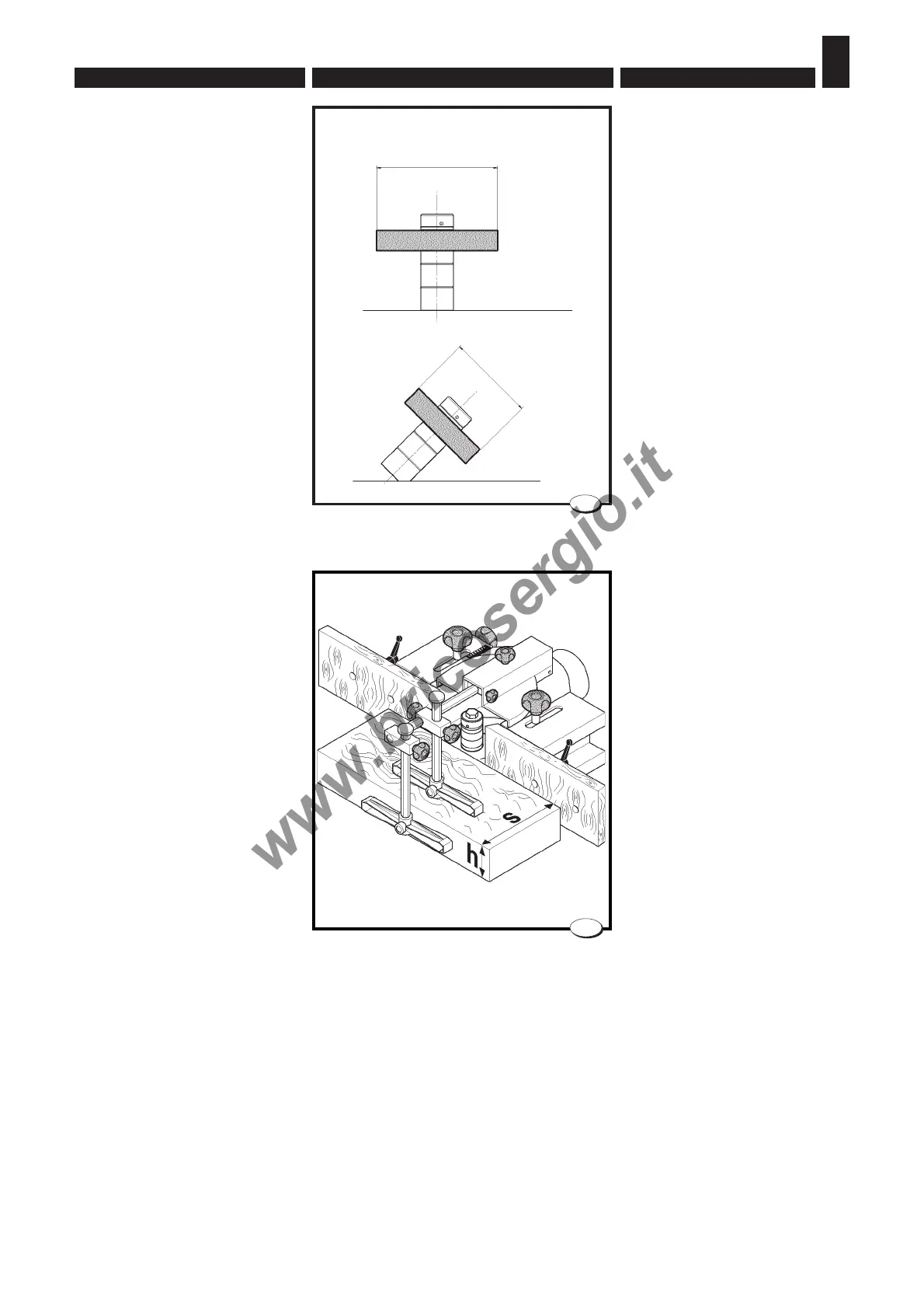
Cuffia guida toupie
- Registrazione micrometrica
- Diametro massimo utensile
(fig.8):
con albero perpendicolare
........................ø max 210 mm
con albero inclinato
........................ø max 150 mm
con albero ø 3/4"
........................ø max 150 mm
- Peso massimo
utensile .......................... 12 Kg
- Dimensioni di fresatura con
pressatori (fig.9):
minima:......................8x8 mm
massima:
.............................. h=115 mm
...............................s=185 mm
- Diametro tubo attacco
aspirazione ............. ø 120 mm
Cuffia per tenonare (OPT)
- Diametro massimo
utensile .................... ø 275mm
con albero ø 3/4" ..... ø 160mm
- Diametro tubo attacco
aspirazione ............. ø 120 mm
Gruppo incisore (OPT)
Diametro esterno ................ ø 80
Diametro foro...................... ø 20
N° denti ................ Z 12 (conico)
Velocità
di rotazione ........... ~8000 g/min
028_088_0.tif
9
63_099_0.tif
MAX ø210
MAX ø150
8
Motors
Technical details: see data plate
on the motor.
Duty cycle: S6 - 40%
Conditions of service: see Sec.
4:2.
Motor powers 50Hz:
three-phase (OPT).4 KW - 5 KW
single-phase.................. 2,2 kW
Motor powers 60Hz:
three-phase (OPT). ........ 4,8 KW
single-phase.................. 4,8 KW
Router fence hood
- Micrometric adjustment;
- Maximum tool diameter
(fig.8):
with perpendicular spindle
........................ø max 210 mm
with inclined spindle
........................ø max 150 mm
with spindle ø 3/4"
........................ø max 150 mm
- maximum tool weight ..... 12 Kg
- Milling dimensions with pressers
(fig. 9):
minimum: ..................8x8 mm
maximum:
.............................. h=115 mm
.............................. s=185 mm
- Suction coupling tube
diameter ................. ø 120 mm
Tenoning hood (OPT)
- Maximum tool
diameter ................. ø 275 mm
with spindle ø 3/4" .. ø 160 mm
- Suction coupling tube
diameter ................. ø 120 mm
Scorer assembly (OPT)
Outside diameter ................80 ø
Hole diameter .....................20 ø
No. of teeth............. Z 12 (conic)
Rotation speed ....... ~ 8000 rpm
www.bricosergio.it

Table of Contents

Related product manuals