EasyManua.ls Logo

Mitsubishi MELDAS MDS-C1 - Page 302

Mitsubishi MELDAS MDS-C1
330 pages
To Next Page IconTo Next Page
To Next Page IconTo Next Page
To Previous Page IconTo Previous Page
To Previous Page IconTo Previous Page
Loading...
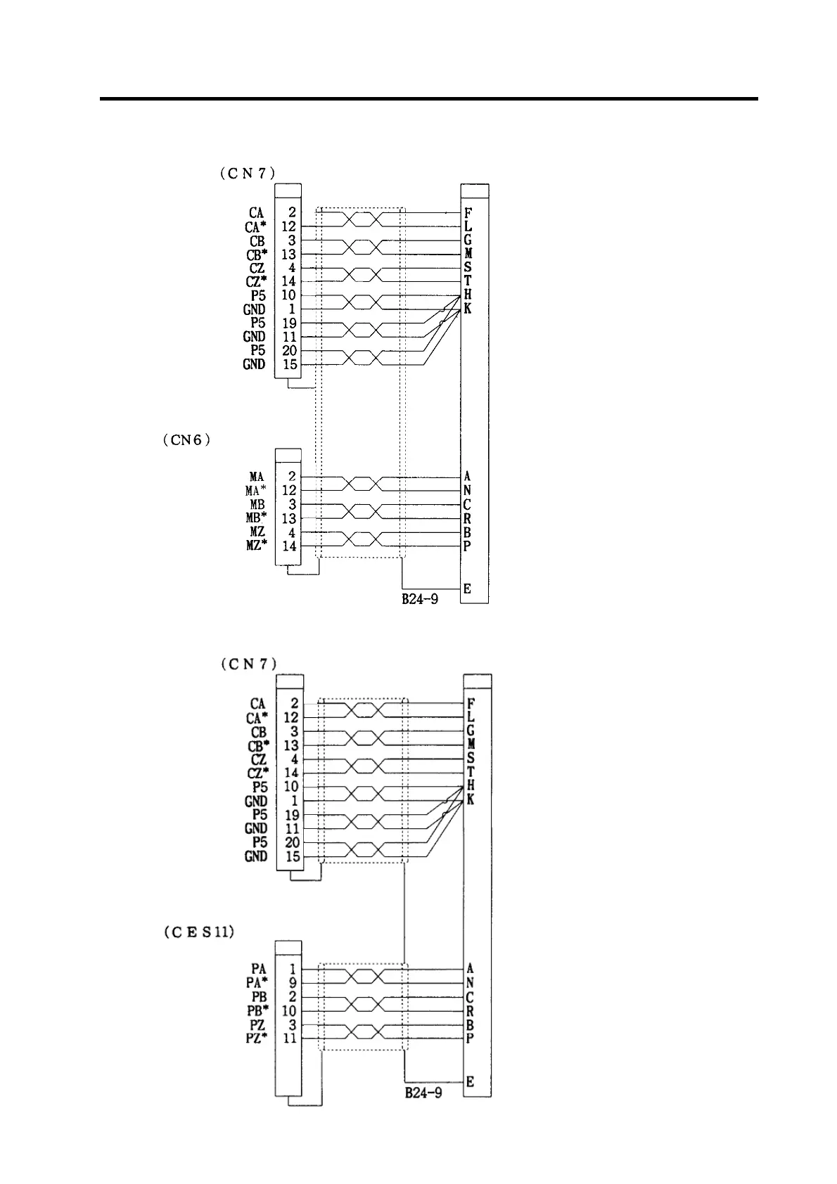
Appendix 1. Cable and Connector Specifications
A1 - 7
<CNP67A cable connection diagram>
<CNP71A cable connection diagram>
Drive unit connector
Detector connector
Pin No.
Pin No.
Green
White
Purple
White
Yello
w
Brown
Brown
Red
Purple
Brown
Blue
Black
Drive unit
Pin No.
Green
connector
Red
White
Blue
Brown
Brown
Drive unit connector
Detector connector
Pin No.
Pin No.
Green
White
Purple
White
Yello
w
Brown
Brown
Red
Purple
Brow
n
Blue
Black
Pin No.
Green
Red
White
Blue
Brown
Brown
NC connector

Table of Contents

Related product manuals