EasyManua.ls Logo

Mitsubishi Q01CPU - Guideline for Use of Extension Base Units

Mitsubishi Q01CPU
732 pages
To Next Page IconTo Next Page
To Next Page IconTo Next Page
To Previous Page IconTo Previous Page
To Previous Page IconTo Previous Page
Loading...
6 - 16
6.1 Base Unit
6.1.4 Guideline for Use of Extension Base Units
6
BASE UNIT AND EXTENSION CABLE
6.1.4 Guideline for Use of Extension Base Units
Since the extension base unit (Q5 B) is supplied with 5VDC from the power supply
module on the main base unit, a voltage drop occurs at extension cables.
Improper I/O may be provided if the specified voltage (4.75VDC or higher) is not supplied
to the "IN" connector of the Q5 B.
When using the Q5 B, make sure that the "IN" connector of the Q5 B is supplied with
4.75VDC or higher.
And it is recommend to connect it with the shortest possible extension cable right after
connecting the main base unit, so as to minimize the effects of voltage drop.
(1) When only the Q5 B is connected to the extension base unit
(a) Selection condition
4.75VDC or higher should be supplied to the "IN" connector of the Q5 B in the
final extension stage.
(b) How to calculate voltage to "IN" connector
The 5VDC output voltage of the power supply module on the main base unit is set
to at least 4.90VDC.
Therefore, the Q5 B can be used if the voltage drop is 0.15VDC or lower
(4.9VDC - 4.75VDC = 0.15VDC).
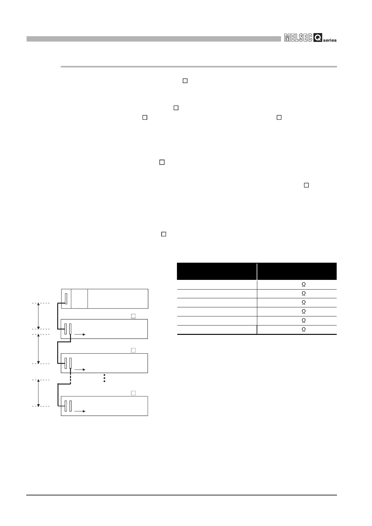
Table6.17 Extension Cable Conductor Resistance
Extension Cable Type
Extension Cable Conductor
Resistance
QC05B
0.044
QC06B
0.051
QC12B
0.082
QC30B
0.172
QC50B
0.273
QC100B
0.530
Diagram 6.9 System Configuration
Extension
stage 1
Extension
stage 2
Extension
stage 7
V1
V2
V7
R1
R2
R7
Main base unit
I1
I2
I7
Power
supply
module
Extension base unit (Q5 B)
Extension base unit (Q5 B)
Extension base unit (Q5 B)

Table of Contents

Related product manuals