EasyManua.ls Logo

Modine Manufacturing MPR - Page 5

Modine Manufacturing MPR
60 pages
Print Icon
To Next Page IconTo Next Page
To Next Page IconTo Next Page
To Previous Page IconTo Previous Page
To Previous Page IconTo Previous Page
Loading...
5MCP15-500.7
FIELD INSTALLED
ACCESSORY
RAINHOOD
48.0
SEE NOTE 3
36.0
36.0
SEE NOTE 2
48.0
SEE NOTE 1
SEE NOTE 4
48.00
SEE NOTE 1
48.00
SEE NOTE 3
48.00
SEE NOTE 3
36.0
FIELD INSTALLED
ACCESSORY
RAINHOOD
FOR UNITS WITH GAS HEAT,
MAINTAIN 48" MINIMUM
FROM VENT TERMINATIONS
36.00
36.0
SEE NOTE 4
48.0
SEE NOTE 3
48.0
SEE NOTE 1
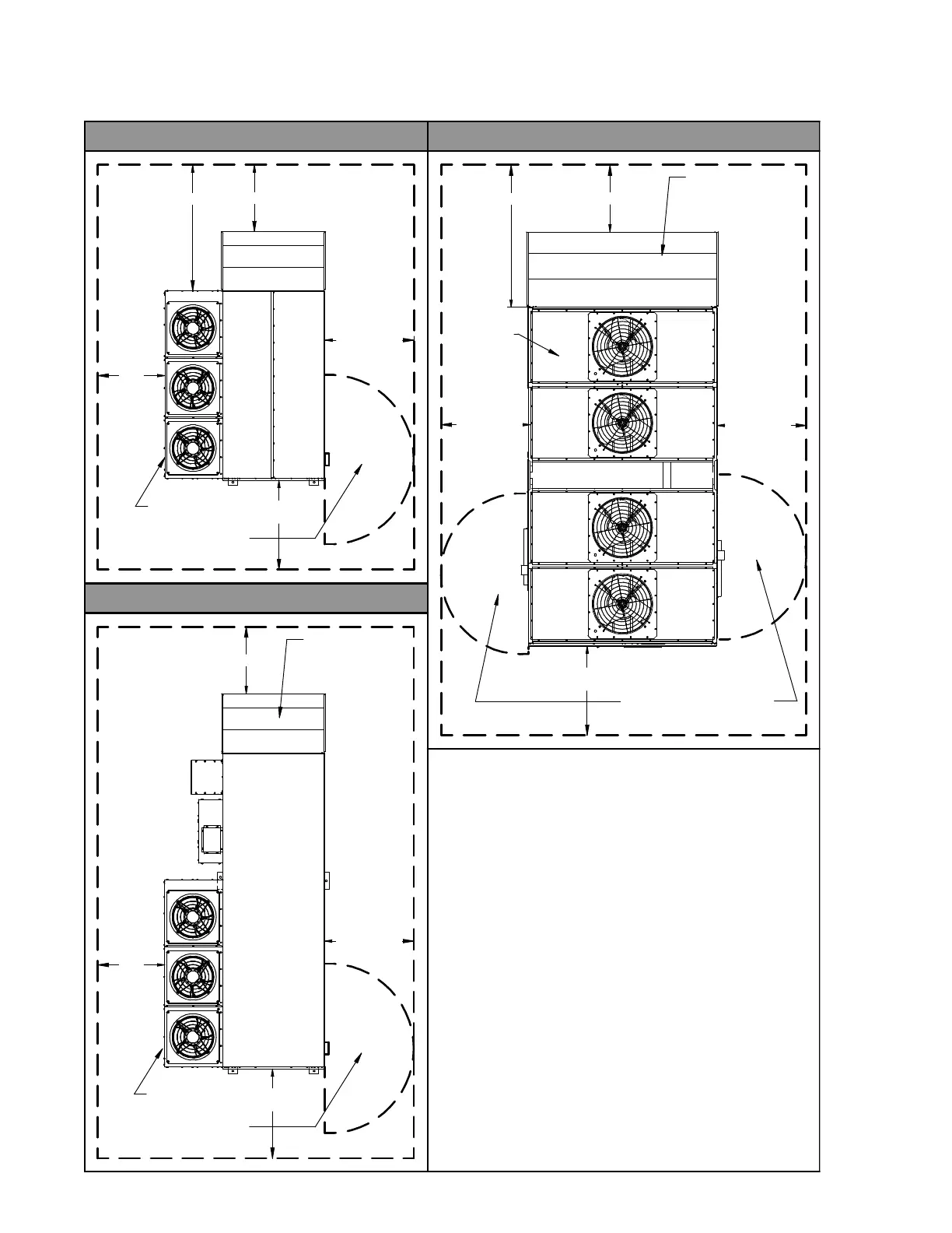
B- AND C-CABINET UNITS WITHOUT ENERGY RECOVERY D-CABINET UNITS WITHOUT ENERGY RECOVERY
B- AND C-CABINET UNITS WITH ENERGY RECOVERY
FOR UNITS WITH GAS HEAT,
MAINTAIN 48" MINIMUM
FROM VENT TERMINATIONS
FOR UNITS WITH GAS HEAT,
MAINTAIN 48" MINIMUM
FROM VENT TERMINATIONS
SEE NOTE 2
SEE NOTE 4
Figure 5.1 - Combustible Material & Service Clearances
CLEARANCES / ROOF CURB INSTALLATION
j The minimum recommended clearance for service is 48". For service
clearances less than shown, applicable local code requirements must be
followed. If the ability for future condenser coil replacement is desired, the
minimum clearance must be:
• 102" for B-Cabinet sized units
• 112" for C-Cabinet sized units
• 100” for D-Cabinet sized units
See Note k for alternate coil replacement direction.
k The minimum recommended clearance for service is 36". For service
clearances less than shown, applicable local code requirements must be
followed. If the ability for future condenser coil replacement is desired, the
minimum clearance must be (from the end panel of the condenser, not the
end of the inlet hood):
• 102” for B-Cabinet sized units
• 112” for C-Cabinet sized units
• 100” for D-Cabinet sized units
See Note j for alternate coil replacement direction.
l The minimum recommended clearance for service is 48". For service
clearances less than shown, applicable local code requirements must be
followed. If the ability for future evaporator coil, hot gas reheat coil, and/or
energy wheel replacement is desired, the minimum clearance must be:
• 55" for B-Cabinet sized units
• 64" for C-Cabinet sized units
• 100” for D-Cabint sized units
m Additional Required Clearances:
-Clearance above unit must be unobstructed.
-Clearance to combustibles below the unit is 6" minimum.

Related product manuals