EasyManua.ls Logo

MSA SOLARIS - Page 35

MSA SOLARIS
162 pages
Print Icon
To Next Page IconTo Next Page
To Next Page IconTo Next Page
To Previous Page IconTo Previous Page
To Previous Page IconTo Previous Page
Loading...
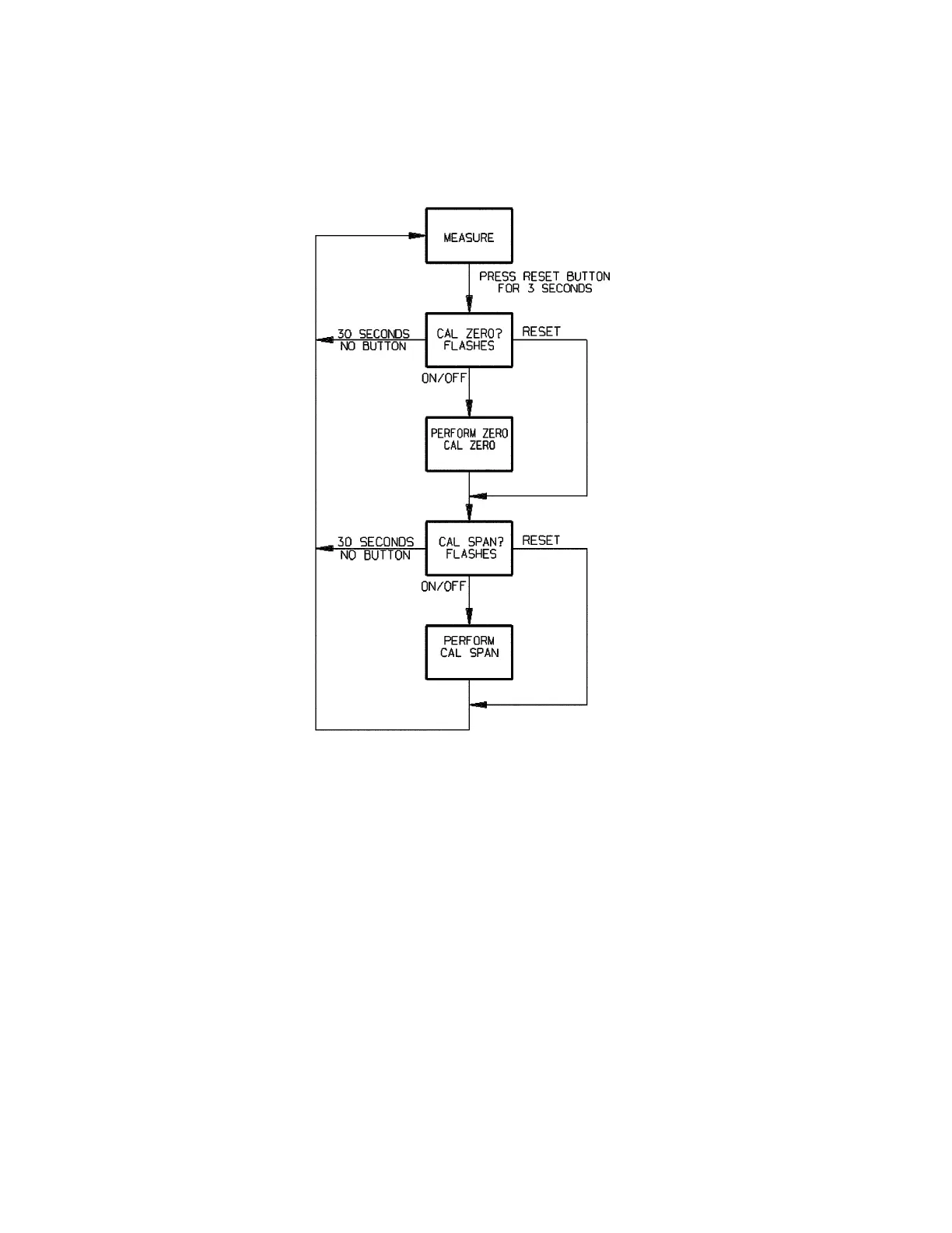
Figure 4-1. Calibration Flow Chart
4-3

Table of Contents

Related product manuals