EasyManua.ls Logo

MSSC Smart-Jet One - Printhead Cable Setup; Use Printhead Smart-Jet DUO PRO

MSSC Smart-Jet One
67 pages
Print Icon
To Next Page IconTo Next Page
To Next Page IconTo Next Page
To Previous Page IconTo Previous Page
To Previous Page IconTo Previous Page
Loading...
14
USER MANUAL V1.2 | Updated August 30, 2022
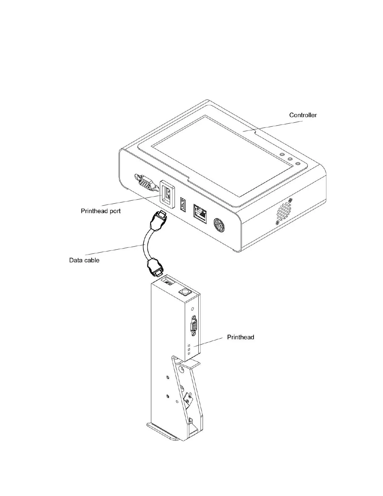
Printhead cable setup
NOTE: The Smart-Jet
®
DUO MAX and Smart-Jet
®
DUO REACH printheads have the same way to setup
with Smart-Jet
®
DUO PRO printhead.
Use Smart-Jet
®
DUO PRO printhead
The below illustration shows how to connect with a Smart-Jet
®
DUO PRO printhead. The
printhead will only print data that was designed within in the template design tool.