EasyManua.ls Logo

MTU C13 - Transport

MTU C13
163 pages
Print Icon
To Next Page IconTo Next Page
To Next Page IconTo Next Page
To Previous Page IconTo Previous Page
To Previous Page IconTo Previous Page
Loading...
1.3 Transport
Transport
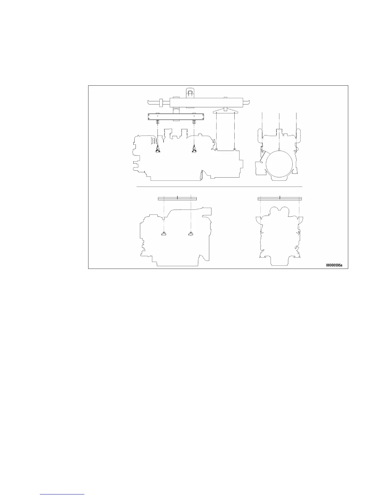
Always use the lifting eyes on the engine and generator/gearbox when transporting gensets.
Always use the lifting eyes on the engine when transporting an engine separately.
Only use transport and lifting devices approved by MTU.
The engine/genset must only be transported in installation position: maximum permissible diagonal pull
10°.
Remove any loose parts on the genset.
Raise the engine/genset slowly. The lifting ropes or chains must not make contact with the engine or
its components. Readjust lifting device as necessary.
Pay attention to the center of gravity of the engine/genset.
For special packaging with aluminium foil: Suspend the engine/genset by the lifting eyes on the bearing
pedestal or transport by means of handling equipment (forklift truck) capable of bearing the load.
Fit the crankshaft transportation lock on the engine and fit the engine mount locking devices prior to
transport.
Secure the engine/genset such as to preclude tipping during transport. Secure such as to preclude slip-
ping and tipping when driving up or down inclines and ramps.
Placement after transport
Place the engine/genset on a firm, flat surface only.
Make sure that the consistency and load-bearing capacity of the ground or support surface is adequate.
Never set an engine down on the oil pan unless expressively authorized to do so by MTU on a case-to-
case basis.
M015695/03E 2013-03
| Safety | 7
TIM-ID: 0000002618 - 006

Table of Contents

Related product manuals