EasyManua.ls Logo

NAD T 752 - AUDIO SWITCH

NAD T 752
63 pages
Print Icon
To Next Page IconTo Next Page
To Next Page IconTo Next Page
To Previous Page IconTo Previous Page
To Previous Page IconTo Previous Page
Loading...
23
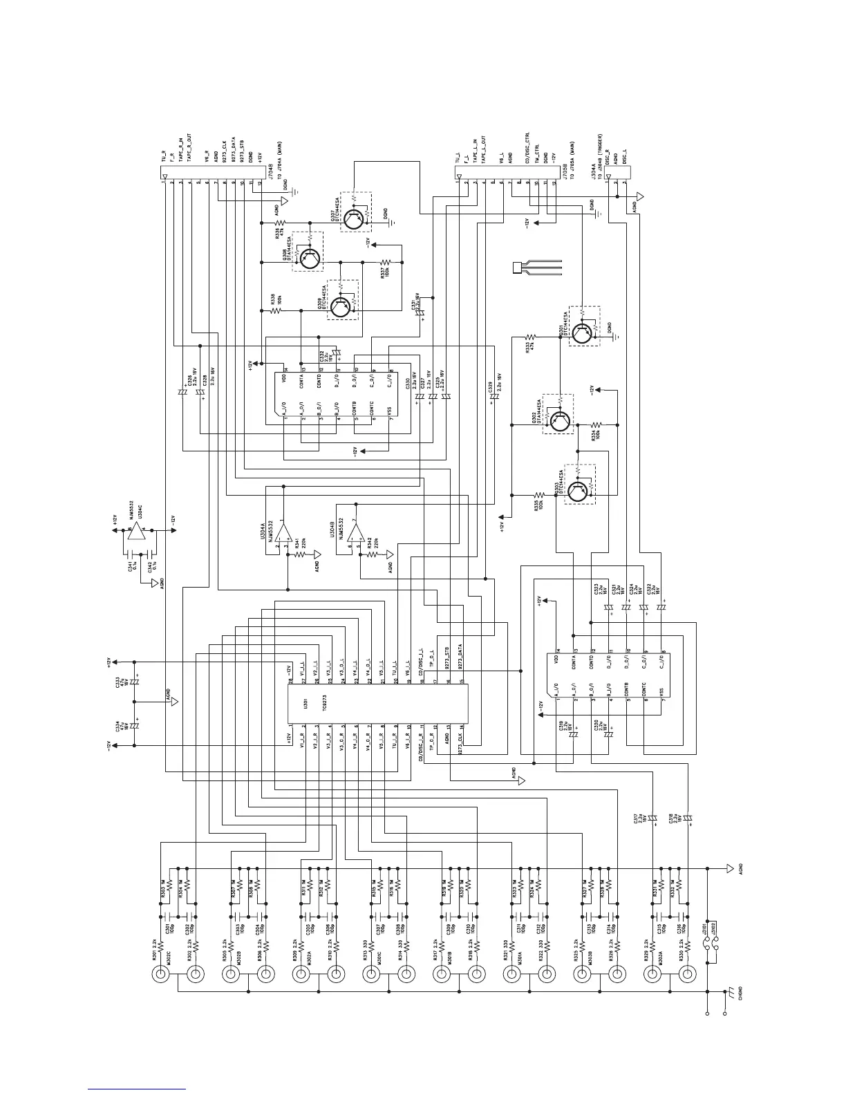
U303
IC-LC4966
U302
IC-LC4966
U301
TC9273
J305
Jumper wire to
Trigger J305A
J617A
Jumper wire to
Pre-Out J617
Jumper / Short Pad
DTA144ESA
DTC144ESA
E C B
R
V1 IN
L
R
V2 IN
L
R
V3 IN
L
R
V3 OUT
L
R
V4 IN
L
R
V4 OUT
L
R
V5 IN
L
R
CD N
L
SCHEMATIC DIAGRAM
AUDIO SWITCH
RESISTORS : UNLESS OTHERWISE SPECIFIED ARE CARBON FILM.
NOTE:
1. RESISTORS, UNLESS OTHERWISE SPECIFIED, ARE 1/6W, 5%.
2. ALL CERAMIC CAPACITORS, UNLESS OTHERWISE SPECIFIED, ARE 50V, 10%.

Table of Contents

Related product manuals