EasyManua.ls Logo

Nibe FIGHTER 1220 - Outdoor Temperature Sensor and Alarm Outputs

Nibe FIGHTER 1220
60 pages
Print Icon
To Next Page IconTo Next Page
To Next Page IconTo Next Page
To Previous Page IconTo Previous Page
To Previous Page IconTo Previous Page
Loading...
Electrical connection
FIGHTER 1220
For the Installer
18
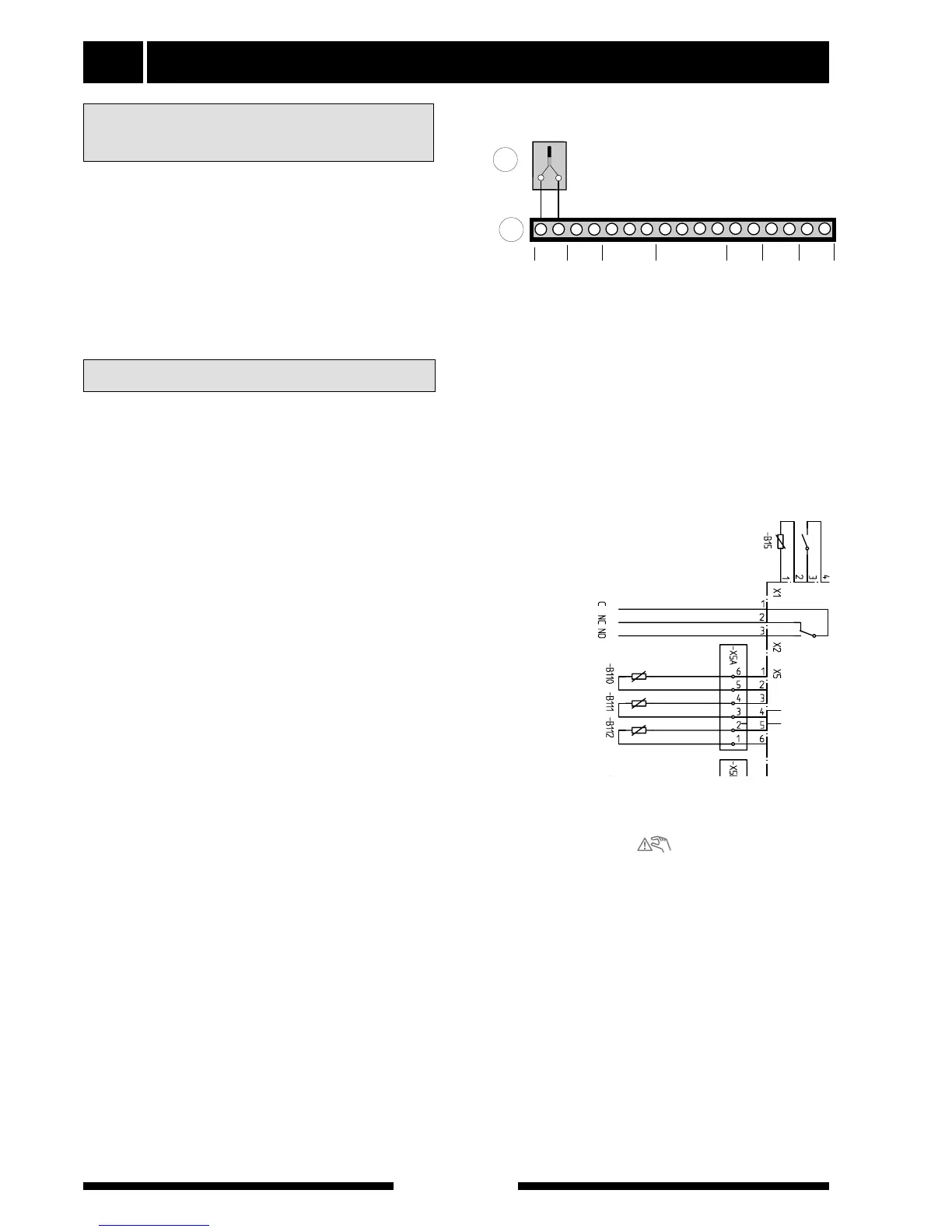
Install the outside sensor in the shade on a wall facing
north or north-west, so it is unaffected by the morning
sun. The sensor is connected with a two-wire cable to
terminal block (14) positions 1 and 2, on the load mon-
itor card (2).
If a conduit is used it must be sealed to prevent con-
densation in the sensor capsule. The minimum cable
cross section should be 0.4 mm
2
up to lengths of 50
metres, for example, EKKX or LiYY.
Alarm
A common alarm is given in the following instances:
High pressure switch (HP) has tripped. Indicated as
HP-alarm.
LP pressure switch (LP) has tripped. Indicated as an
LP alarm.
Temperature limiter (TB) has tripped. Indicated as a
TB-alarm.
The motor cut-out (MS) has tripped, indicated by an
MS-alarm.
Pressure/level monitor brine (accessory) indicated as
pressure/level brine.
Brine temp. low, indicates a low brine temperature. Not
indicated when menu 5.2 is set to automatic return On.
Supply sensor fault is indicated by a Sensor alarm.
Hot water sensor fault is indicated by a Sensor alarm.
External indication of common alarms is possible
through the relay function on the load monitor card (2).
Alarm/alarm outputs
In the event of an alarm the relay contact makes, the
figure shows the relay in the alarm position. When
switch (8) is in the 0 or position the relay is in
the alarm position.
Connecting an
outside temperature sensor
12
3
4
56
7
8
15
14
9
10 11
12 13 14 15 16
17
Temp set back 1
Outdoor sensor
Hot gas temp.
Bulb temp.
Liquide line temp.
Alarm

Table of Contents

Other manuals for Nibe FIGHTER 1220

Related product manuals