EasyManua.ls Logo

Nidec NE200 - Page 126

Nidec NE200
244 pages
Print Icon
To Next Page IconTo Next Page
To Next Page IconTo Next Page
To Previous Page IconTo Previous Page
To Previous Page IconTo Previous Page
Loading...
NE200/300 Series Drive User Manual
Chapter 6 Parameter description 117
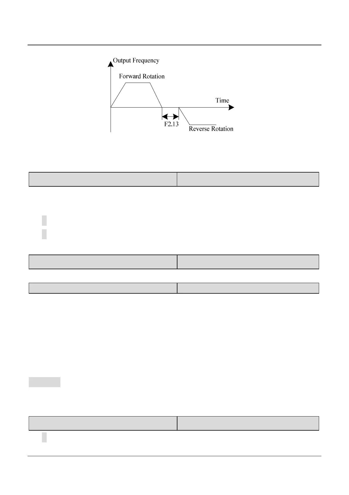
Fig.6-6 FWD/REV switching
F2.14 Freq. lower-limit treatment Range: 0~10
This parameter is used to select the running status of the drive when the
setup frequency is lower than the frequency lower limit.
0: Run with frequency lower limit
1: Zero frequency operation
F2.15 Reserved
F2.16
Energy-saving control select
Range:
0~1
1
0: Disable 1: Enable
‘0’ means the energy-saving control mode is disabled.
‘1’ means the energy-saving control mode is enabled.
To adjust the output current to degrease the energy-saving of motor by
inspecting the current of load while the motor is working in no-load or
light-load status.
Note:
This function is enabled while controlled by V/F mode.
F2.17 AVR function Range: 0~22
0: Disabled

Table of Contents

Related product manuals