EasyManua.ls Logo

Noble UH30-E - Parts Identification; Electrical Panel Assemblies

Noble UH30-E
66 pages
Print Icon
To Next Page IconTo Next Page
To Next Page IconTo Next Page
To Previous Page IconTo Previous Page
To Previous Page IconTo Previous Page
Loading...
29
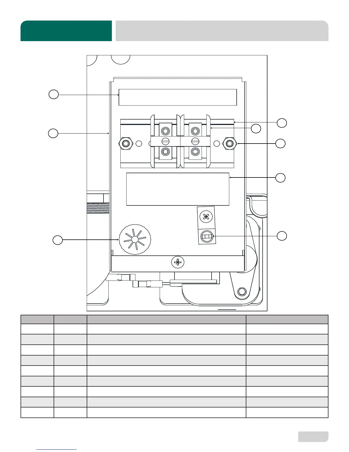
07610-004-45-09-D
ITEM QTY DESCRIPTION PART NUMBER
1 1 Power Connection Decal 09905-011-47-35
2 1 Terminal Block Box 05700-004-36-47
1 Terminal Box Cover (not shown) 05700-003-27-70
3 1 Strain Relief 05975-003-37-56
4 1 Terminal Block Track 05700-000-43-60
5 2 Terminal Block 05940-500-02-19
6 2 Locknut, 10-24 Hex with Nylon Insert 05310-373-01-00
7 1 Decal, L1, N 09905-011-62-72
8 1 Ground Lug 05940-200-76-00
6
7
5
4
8
1
3
2
TERMINAL BLOCK BOX, 208/230 V
PARTS

Related product manuals