EasyManua.ls Logo

Nordmann DC4 - Steam Humidifier Construction

Nordmann DC4
56 pages
Print Icon
To Next Page IconTo Next Page
To Next Page IconTo Next Page
To Previous Page IconTo Previous Page
To Previous Page IconTo Previous Page
Loading...
9
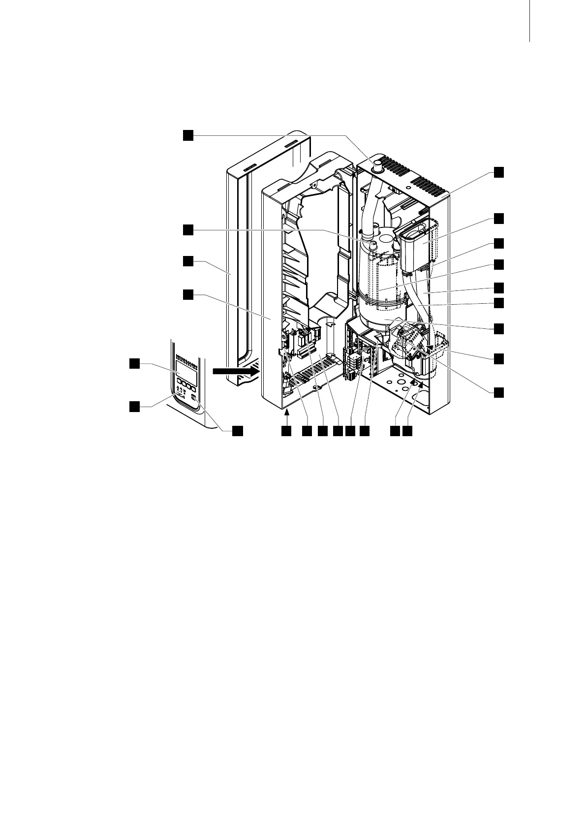
3.3 Steam humidier construction
1 Back panel
2 Water cup
3 Water supply hose
4 Heating electrodes
5 Filling hose
6 Overow hose
7 Steam cylinder
8 Inlet valve (not visible)
9 Drain pump
10 Water drain connector (not visible)
11 Water supply connector (not visible)
12 Tub
13 Power board
14 Type plate
15 Remote operating and fault indication board
(Option)
16 Control board with CF card
17 Unit switch
18 Drain key
19 Display and control unit
20 Operation status indicators (LED's)
21 Intermediate panel
22 Front cover
23 Level sensor
24 Steam outlet connector
Construction Nordmann DC4
1
2
4
5
7
6
9
3
17 13 1214 101516
23
22
21
24
11
19
18
20
8

Table of Contents

Other manuals for Nordmann DC4

Related product manuals