EasyManua.ls Logo

Nordmann DC4 - Humidification System Overview

Nordmann DC4
56 pages
Print Icon
To Next Page IconTo Next Page
To Next Page IconTo Next Page
To Previous Page IconTo Previous Page
To Previous Page IconTo Previous Page
Loading...
12
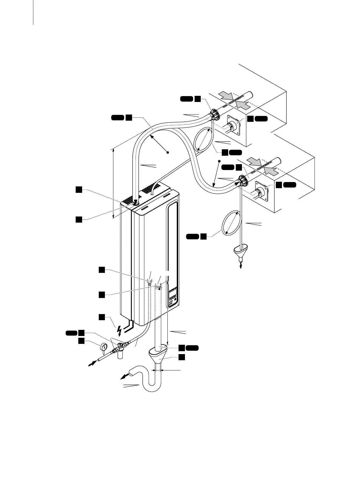
3.5 Humidication system overview
1 Steam humidier
2 Steam connector
3 Water supply connector
4 Water drain connector
5 Filter valve (accessory “Z261”)
6 Manometer (installation recommended)
7 Funnel with siphon (building side)
8 Water drain hose (accessory “DS22”)
9 Connecting cables
10 Steam hose (accessory “DS22”)
11 Condensate hose (accessory “KS10”)
12 Steam distribution pipe (accessory “41-...”)
13 Steam nozzle (accessory “W21”)
System overview Nordmann DC4
DS22
7
+
1
2
4
Z261
9
10
41-..
11
DS22
KS10
KS10
11
12
41-..
12
W21
13
W21
13
8
3
6
5
125...1250µS/cm
1...10 bar
1...40 °C
min. 10 %
min. 10 %
≥ 40 mm
min. 50 cm
ø22 mm
G 3/4"
G 3/8"
ø10/8 mm
min. 300 mm
min. 20 %
min. 10 %
min. 10 %
min. 5 %
min. 5 %
Rmin. 300 mm
Rmin. 300 mm
Ømin. 200 mm
Ømin. 200 mm
Pmax. 800 Pa
Pmin. -800 Pa
Pmax. 800 Pa
Pmin. -800 Pa

Table of Contents

Other manuals for Nordmann DC4

Related product manuals