EasyManua.ls Logo

Panasonic 140 - Installation Schematics

Panasonic 140
84 pages
Print Icon
To Next Page IconTo Next Page
To Next Page IconTo Next Page
To Previous Page IconTo Previous Page
To Previous Page IconTo Previous Page
Loading...
59
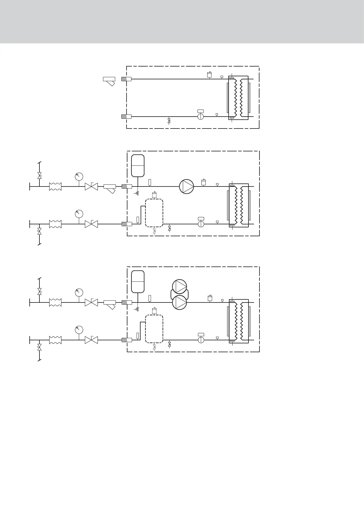
Appendix Heat Pump Chiller 140-210
Hydraulic circuit diagram
LWC
VD
FS
CL
LWT
EWT
RAG
RAG
PHE
CL
PA
EWC
FT
MN
MN
VV
VR
FC
FC
VA
VA
LWC
VD
FS
CL
LWT
EWT
RAG
RAG
PHE
CL
PA
EWC
WP
WP
VE
WPS
SS
VD
PA
WT
FT
WPT
MN
MN
VV
VR
FC
FC
VA
VA
LWC
VD
FS
CL
LWT
EWT
RAG
RAG
PHE
CL
PA
EWC
WP
VE
WPS
WPT
SS
VD
PA
WT
FT
Without pump version
Recommended installation - Single pump version
Unit
Unit
Installation
Installation
Recommended installation - Double pump version

Table of Contents