EasyManua.ls Logo

Panasonic DMR-ES10P

Panasonic DMR-ES10P
66 pages
To Next Page IconTo Next Page
To Next Page IconTo Next Page
To Previous Page IconTo Previous Page
To Previous Page IconTo Previous Page
Loading...
10 Assembling and Disassembling
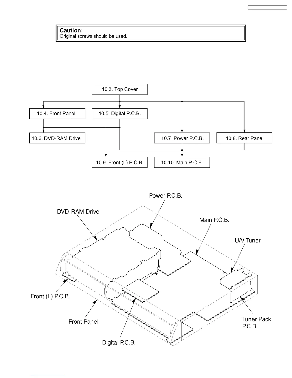
10.1. Disassembly Flow Chart
The following chart is the procedure for disassembling the casing and inside parts for internal inspection when carrying out the
servicing.
To assemble the unit, reverse the steps shown in the chart below.
10.2. P.C.B. Positions
19
DMR-ES10P / DMR-ES10PC

Table of Contents

Related product manuals