EasyManua.ls Logo

Panasonic DMR-ES10P

Panasonic DMR-ES10P
66 pages
To Next Page IconTo Next Page
To Next Page IconTo Next Page
To Previous Page IconTo Previous Page
To Previous Page IconTo Previous Page
Loading...
6 New Feature
6.1. Quick start function(REC)
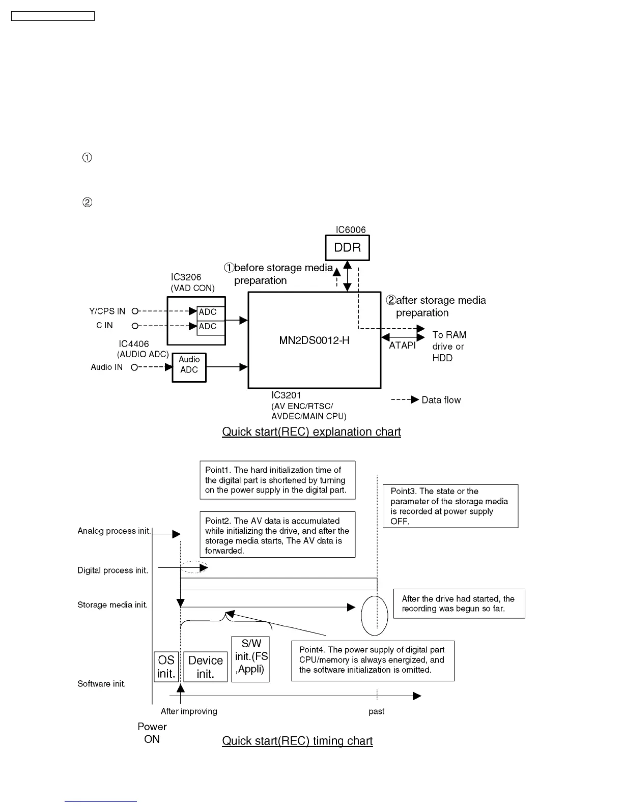
1. General
A few seconds after tuning on the unit,you can start recording to DVD-RAM,HDD.
You can switch the operation of this function (ON/OFF) on the menu screen. .
2. Quick start(REC) principle
In the power-off at Quick start, only power supplies for video IC,tuner and storage media are cut off.
When the REC button is pushed a few second after the power button is pushed, Audio and Video data are stored in
DDR SDRAM before a storage media(DVD-RAM or HDD) preparation.
*Preparation time DVD-RAM: Fabout 8seconds
After a storage media(DVD-RAM or HDD) preparation,Audio and Video data are transfer from DDR SDRAM to the
storage media.
8
DMR-ES10P / DMR-ES10PC

Table of Contents

Related product manuals