EasyManua.ls Logo

Panasonic DMR-ES30VEG

Panasonic DMR-ES30VEG
103 pages
To Next Page IconTo Next Page
To Next Page IconTo Next Page
To Previous Page IconTo Previous Page
To Previous Page IconTo Previous Page
Loading...
8 NEW FEATURES
8.1. QUICK START FUNCTION (REC)
(Note: Descriptions concerning HDD is applied only to models with HDD.)
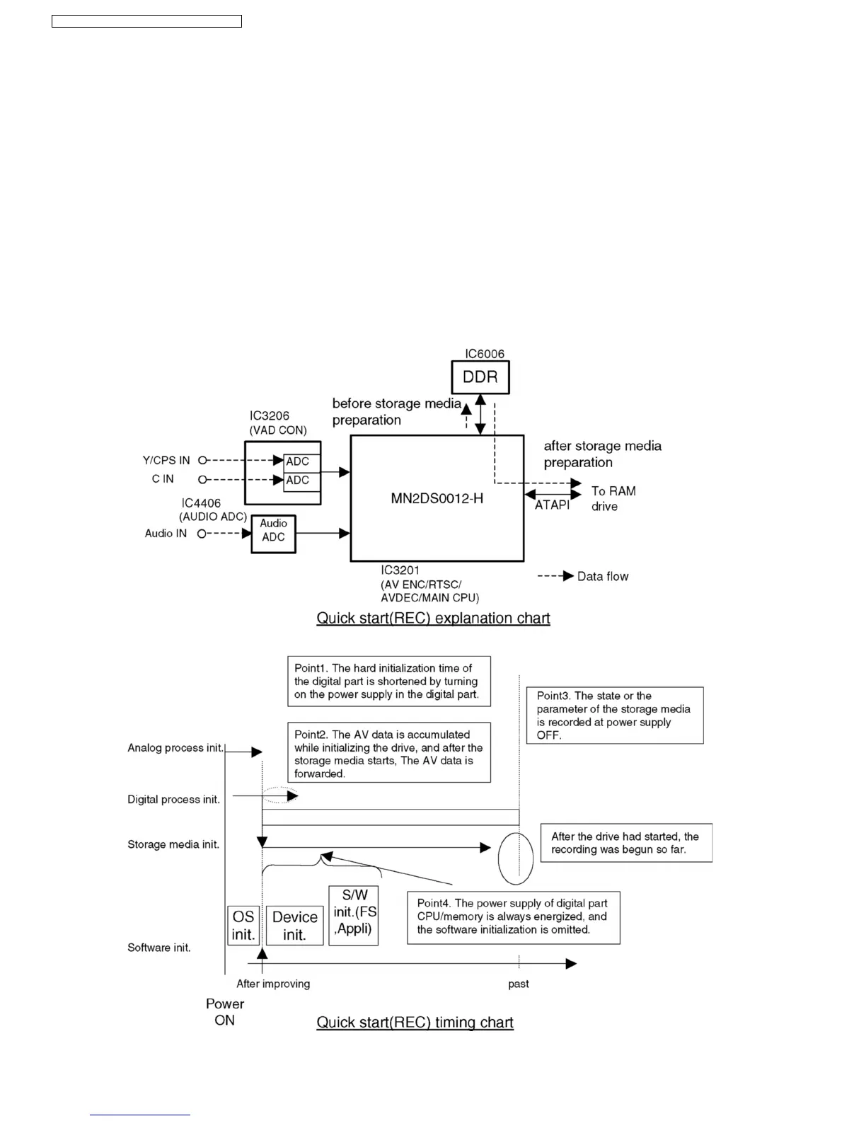
1. General
A few seconds after tuning on the unit, you can start recording to DVD-RAM.
You can switch the operation of this function (ON/OFF) on the menu screen.
2. Quick start (REC) principle
In the power-off at Quick start, only power supplies for video IC, tuner and storage media are cut off.
2.1. When the REC button is pushed a few second after the power button is pushed, Audio and Video data are stored
in DDR SDRAM before a storage media (DVD-RAM) preparation.
*Preparation time DVD-RAM: About 8 seconds
2.2. After a storage media DVD-RAM preparation, Audio and Video data are transfered from DDR SDRAM to the storage
media.
10
DMR-ES30VEG / DMR-ES30VEC / DMR-ES30VEB

Table of Contents

Related product manuals