EasyManua.ls Logo

Panasonic DMR-EZ45VEB

Panasonic DMR-EZ45VEB
108 pages
To Next Page IconTo Next Page
To Next Page IconTo Next Page
To Previous Page IconTo Previous Page
To Previous Page IconTo Previous Page
Loading...
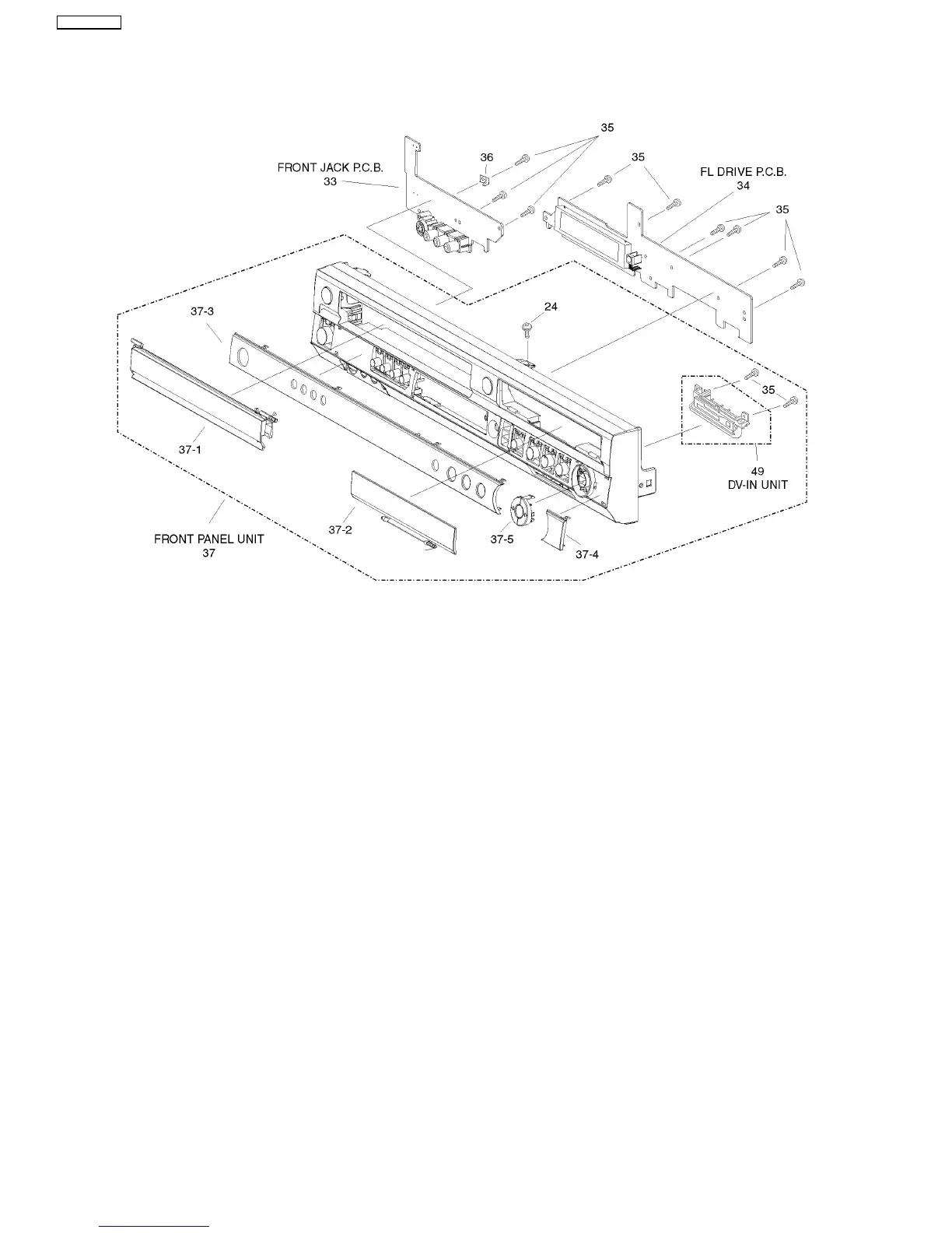
16.2. FRONT PANEL PARTS
92
DMR-EZ45VEB

Table of Contents

Related product manuals