EasyManua.ls Logo

Panasonic SA-PM19E - Page 21

Panasonic SA-PM19E
168 pages
Print Icon
To Next Page IconTo Next Page
To Next Page IconTo Next Page
To Previous Page IconTo Previous Page
To Previous Page IconTo Previous Page
Loading...
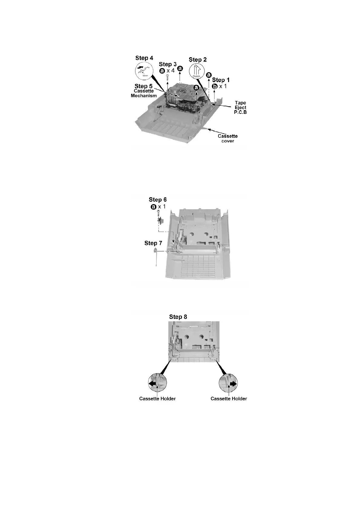
Step 1 : Remove the screw.
Step 2 : Release the clutch.
Step 3 : Remove all the screws.
Step 4 : Press the lever to open the cassette cover.
Step 5 : Remove the cassette mechanism unit.
Step 6 : Remove the screw and damper gear.
Step 7 : Remove the cassette open spring.
Step 8 : Pull out the cassette holder to the direction of the arrow shown.
9.16. Procedure for Replacing Pinch Roller and Head Block
(Cassette Mechanism Unit)
- Follow the (Step 1) - (Step 6) of Item 9.2.
21

Related product manuals