EasyManua.ls Logo

Panasonic TH-37PW7BX - No Picture; Local Screen Failure

Panasonic TH-37PW7BX
159 pages
Print Icon
To Next Page IconTo Next Page
To Next Page IconTo Next Page
To Previous Page IconTo Previous Page
To Previous Page IconTo Previous Page
Loading...
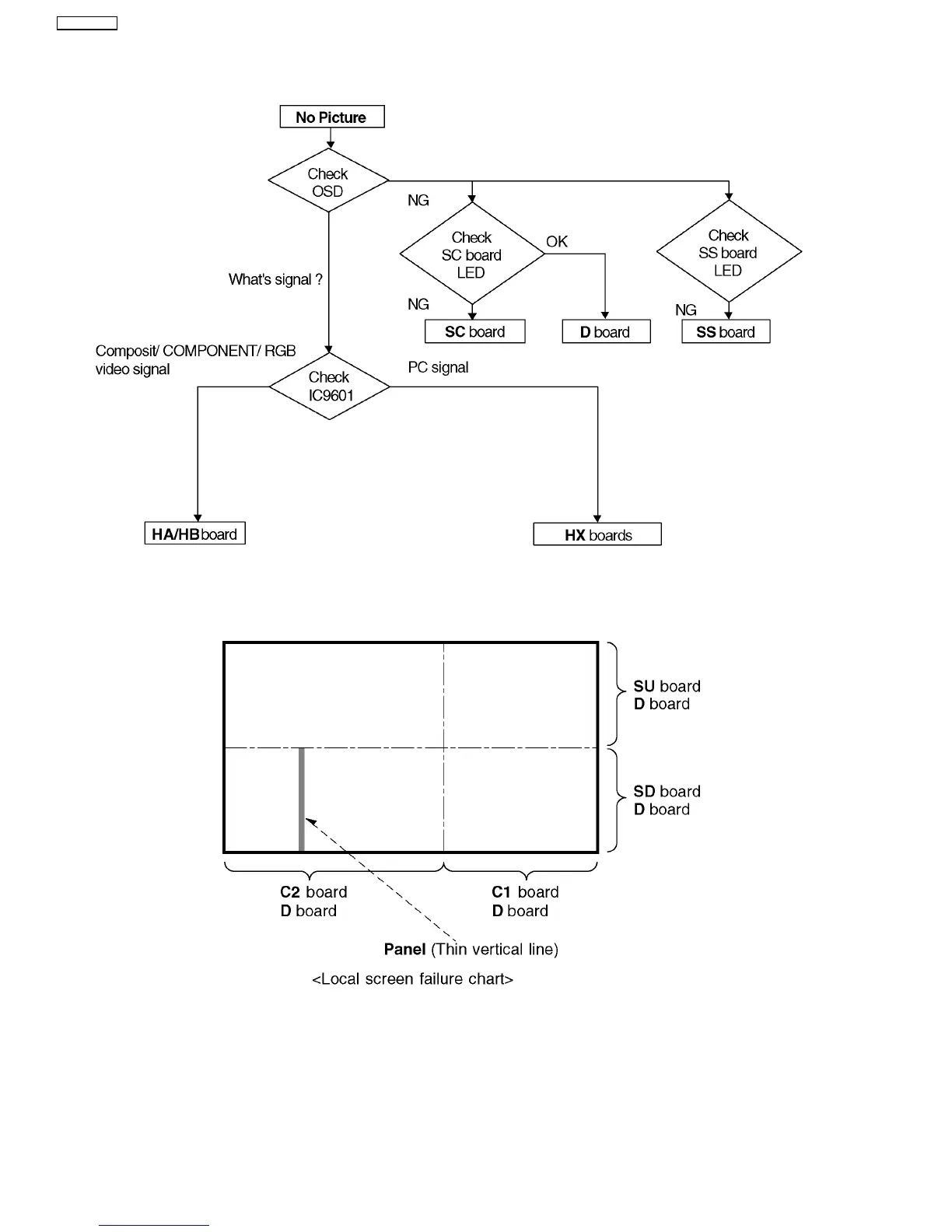
12.3. No Picture
12.4. Local screen failure
Plasma display may have local area failure on the screen. Fig - 1 is the possible defect P.C.B. for each local area.
Fig - 1
30
TH-37PW7BX

Table of Contents

Related product manuals