EasyManua.ls Logo

Parker 598P - Thyristor Wiring; Standard Trigger Board Terminal Assignment; Quad

Parker 598P
26 pages
To Next Page IconTo Next Page
To Next Page IconTo Next Page
To Previous Page IconTo Previous Page
To Previous Page IconTo Previous Page
Loading...
12 of 20
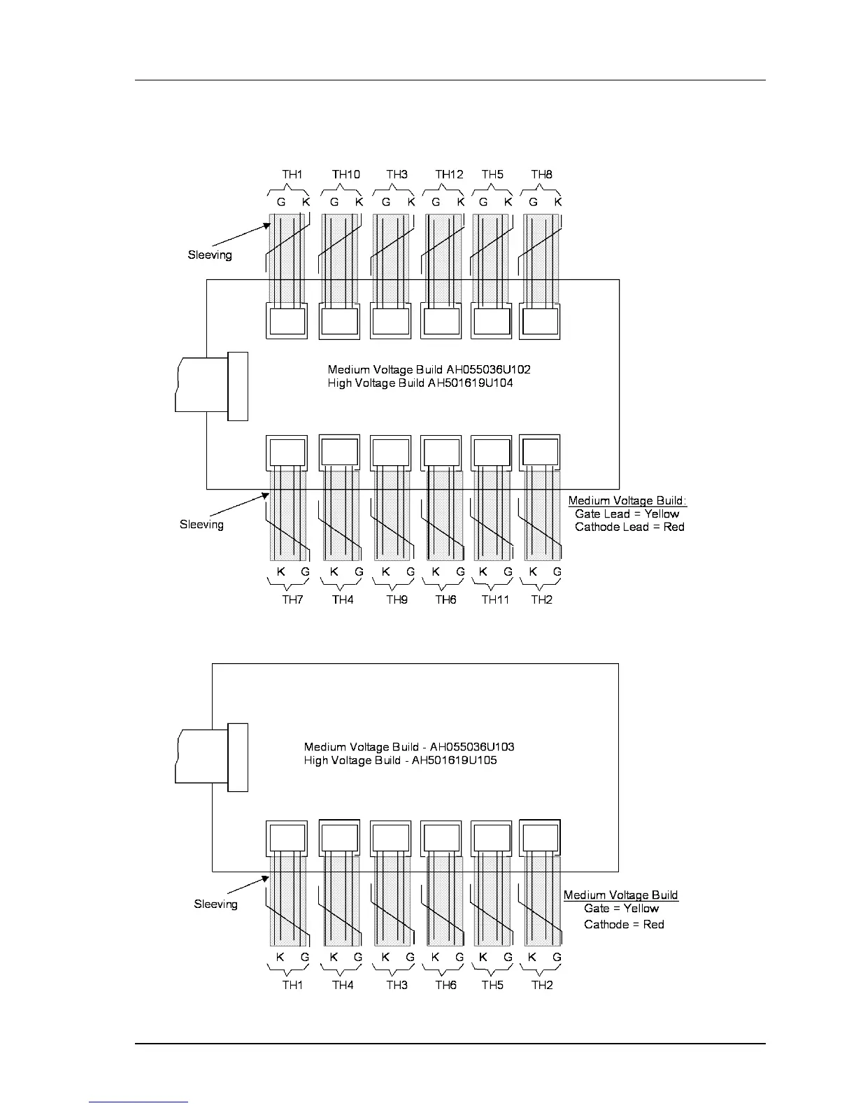
598P/599P Application Manual
Thyristor Wiring
STANDARD TRIGGER BOARD TERMINAL ASSIGNMENT
4 Quad
2 Quad
This manual was downloaded on www.sdsdrives.com
+44 (0)117 938 1800 - info@sdsdrives.com

Related product manuals