EasyManua.ls Logo

PR 9116 - Graphical Depictions; Graphic Depiction of Window Function

PR 9116
79 pages
Print Icon
To Next Page IconTo Next Page
To Next Page IconTo Next Page
To Previous Page IconTo Previous Page
To Previous Page IconTo Previous Page
Loading...
9116 - Product Version 9116-003 29
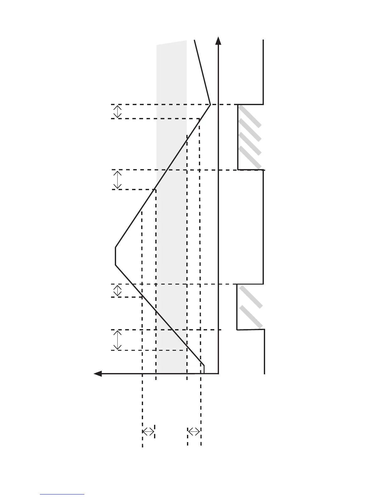
Graphic depiction of window
Hysteresis
Setpoint high
ON delay OFF delay
Relay On Relay On
Closed
Open
Relay contact (N.O.)
Time
Window
ON delay OFF- delay
Hysteresis
Setpoint low

Table of Contents

Related product manuals