EasyManua.ls Logo

PREMIER TECH Solido SMART - Installation and start-up; Pre-installed components in the treatment tank M2

PREMIER TECH Solido SMART
64 pages
Print Icon
To Next Page IconTo Next Page
To Next Page IconTo Next Page
To Previous Page IconTo Previous Page
To Previous Page IconTo Previous Page
Loading...
7. Installation and start-up
Premier Tech 34 / 64 Solido SMART
DOKK5110E 15.04.2020
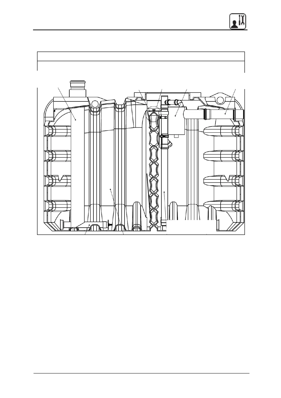
Pre-installed components in the treatment tank M2
Sludge removal
pipe DN160
clearwater lifter
Sampling pot with emergency
overflow
Support for
clearwater lifter

Table of Contents

Related product manuals