EasyManua.ls Logo

Prodigit 3260A Series - System Block Diagram

Default Icon
69 pages
Print Icon
To Next Page IconTo Next Page
To Next Page IconTo Next Page
To Previous Page IconTo Previous Page
To Previous Page IconTo Previous Page
Loading...
8 PRODIGIT
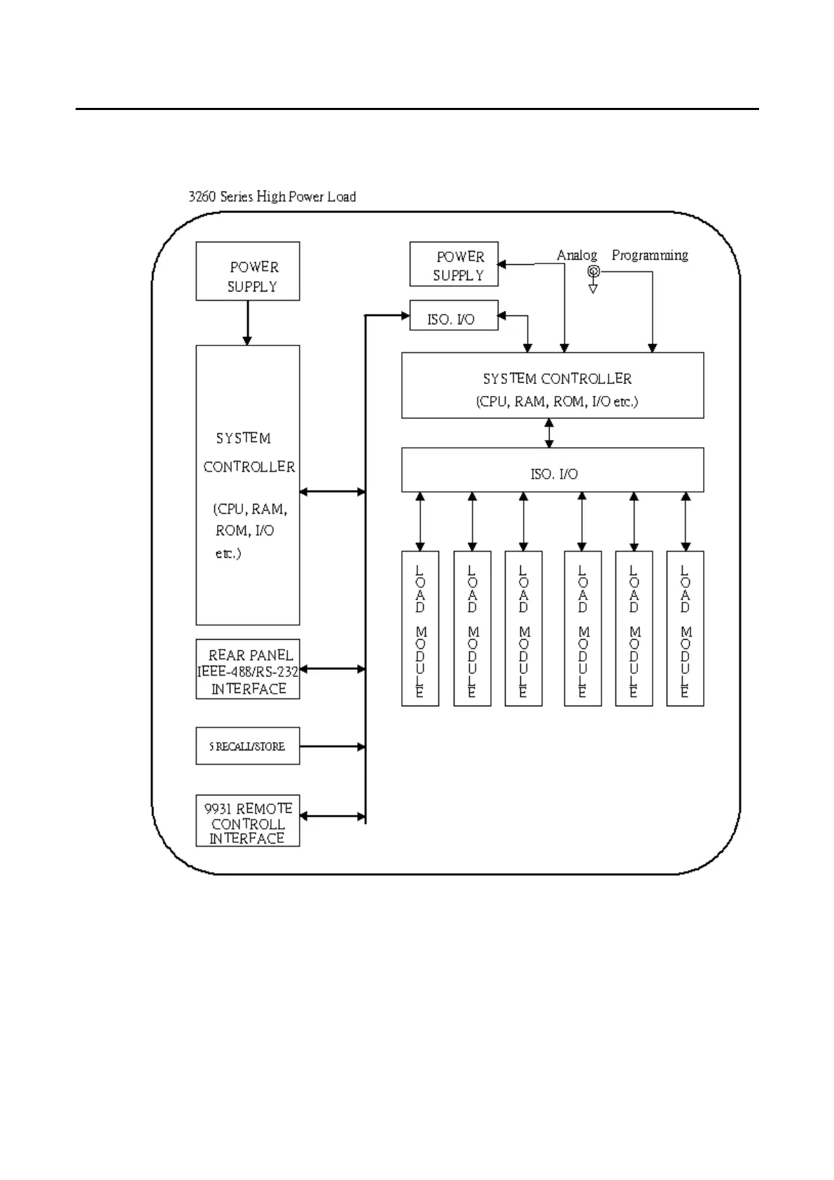
1-6 System Block Diagram

Table of Contents

Related product manuals