EasyManua.ls Logo

Quinton TM55 - Page 20

Quinton TM55
82 pages
Print Icon
To Next Page IconTo Next Page
To Next Page IconTo Next Page
To Previous Page IconTo Previous Page
To Previous Page IconTo Previous Page
Loading...
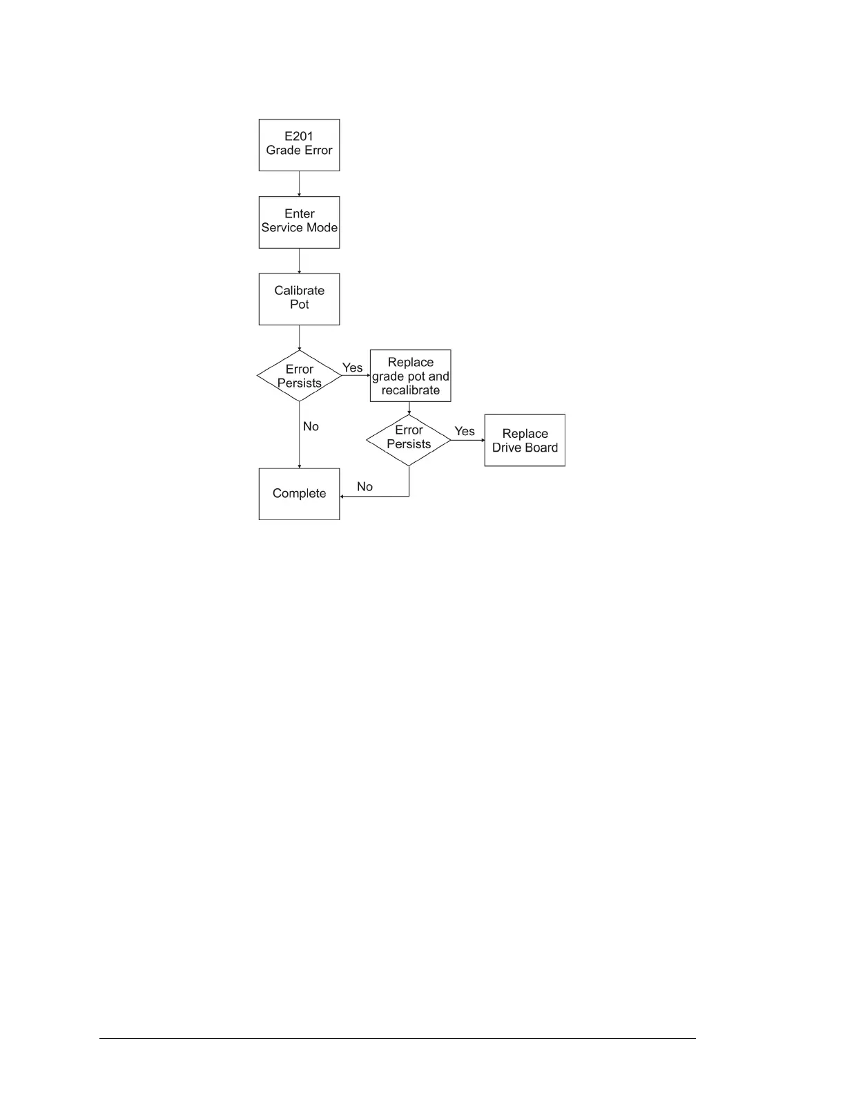
3-6 Troubleshooting Cardiac Stress Treadmills Service Manual
Grade Error Flow Chart
Error Code Flow Chart: E201

Table of Contents

Other manuals for Quinton TM55

Related product manuals