EasyManua.ls Logo

Sanwa CD731A - Testing Diode

Sanwa CD731A
56 pages
Print Icon
To Next Page IconTo Next Page
To Next Page IconTo Next Page
To Previous Page IconTo Previous Page
To Previous Page IconTo Previous Page
Loading...
−33−
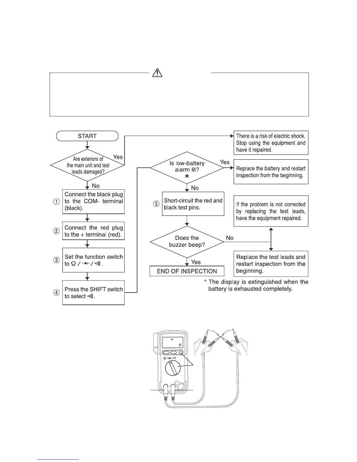
5MEASUREMENT PROCEDURE
5-1 Start-up Inspection
1. Never use meter if the meter or test leads are damaged or
broken.
2. Make sure that the test leads are not cut or otherwise damaged.
WARNING
Fig 4

Table of Contents

Related product manuals