EasyManua.ls Logo

Sanwa PC20TK - Page 24

Sanwa PC20TK
44 pages
Print Icon
To Next Page IconTo Next Page
To Next Page IconTo Next Page
To Previous Page IconTo Previous Page
To Previous Page IconTo Previous Page
Loading...
22
2. Example of identifying capacitors (some capacitors have no identification)
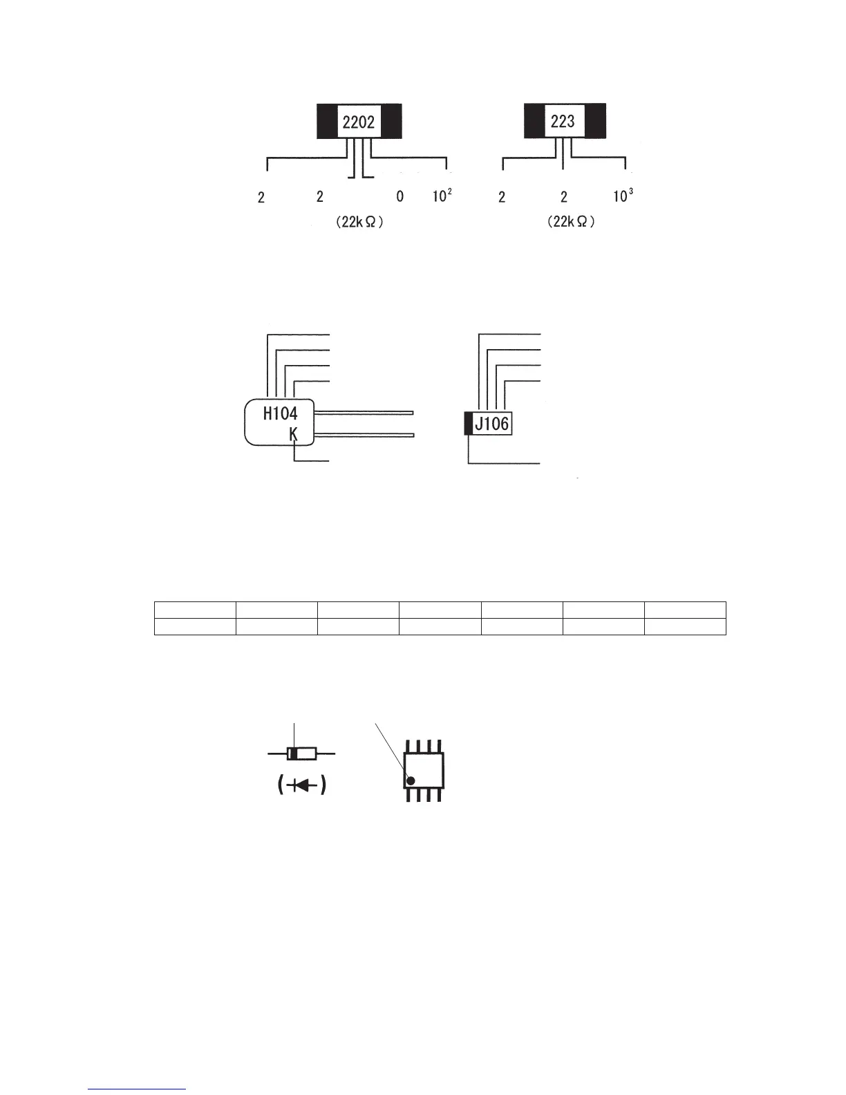
Fig. 4-3(b): Example of identifying resistors
[Example of identifying square chips: 22 kΩ]
1×10
(1+4)
p F = 1×10
5
p F
0.1 µF (50 V) ±10 %
1×10
(1+6)
p F = 1×10
7
p F
10 µF (6.3 V)
Fig. 4-4: Example of identifying capacitors
* Symbols showing rated voltage
Symbol G J A C D H
Rated voltage
4 V 6.3 V 10 V 16 V 20 V 50 V
3. Identifying other components
Fig. 4-5:
Example of identifying
other components
4. Units
Auxiliary units used for capacitors 1 F = 10
6
µF = 1000000 µF
1 µF = 10
3
nF = 1000 nF
1 nF = 10
3
pF = 1000 pF
Auxiliary units used for resistors 1 MΩ = 10
3
kΩ = 1000 kΩ
1 kΩ = 1000 Ω
1 mΩ = 10
-
3
Ω = 0.001 Ω
(Cathode mark)
Diode
(Mark showing the 1st pin)
I C
1st numeral
Rated voltage symbol
1st numeral
2nd numeral
Multiplier
Tolerance symbol
K : ±10 %
Positive polarity
mark
Rated voltage symbol
1st numeral
2nd numeral
Multiplier
1st numeral3rd numeral Multiplier Multiplier
2nd numeral 2nd numeral

Related product manuals