EasyManua.ls Logo

Scotchman 9012-24M - Punch Retaining Nuts

Scotchman 9012-24M
100 pages
Print Icon
To Next Page IconTo Next Page
To Next Page IconTo Next Page
To Previous Page IconTo Previous Page
To Previous Page IconTo Previous Page
Loading...
Page 94
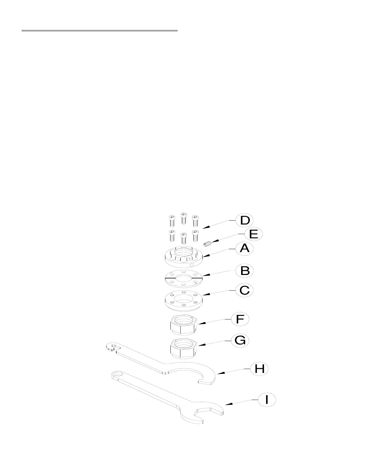
9.13 PUNCH RETAINING NUTS
ITEM PART# DESCRIPTION
A 026501 Ring Nut
B 026502 Split-Ring
C 026503 Retaining Ring
D 221212 M-10 SHCS
E 026504 M-8 Brass Set Screw
F 016095 #40 Punch Retaining Nut
G 016096 #45 Punch Retaining Nut
H 018507 Wrench For A
I 019098 Wrench For F & G
026500 Complete Heavy Duty Nut
(
Includes A, B, C, D & E)
FIGURE 45

Related product manuals