EasyManua.ls Logo

SICK CLV 410 - Determination of Diagnostic Reading Data

SICK CLV 410
77 pages
Print Icon
To Next Page IconTo Next Page
To Next Page IconTo Next Page
To Previous Page IconTo Previous Page
To Previous Page IconTo Previous Page
Loading...
57
SICK Optic-Electronic
Bar Code Scanners
4
Operation
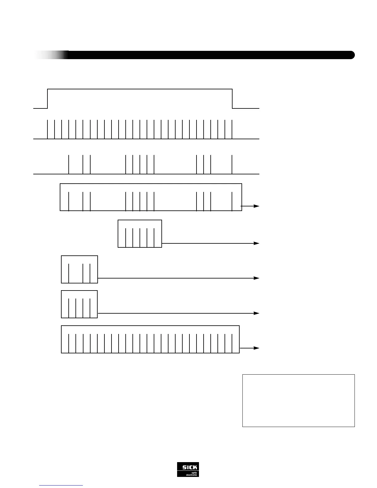
Key:
CA = Scan Expenditure
GCA = Total Scan Expenditure
CS = Code Reliability
CK = Code Continuity
CG = Identification Quality
1 2 3 4 5 6 7 8 9 10 11 12 13 14 15 16 17 18 19 20 21 22 23 24 25 26 27
Reading Gate
N Scans in
Reading Gate
Time-Related
Distribution and
Number of Identical
Scans
CS = 12
CK = 5
Multiple Reads: 3
(parameter setting)
CA = 4
GCA = 24
123 45678 91011 12
12345
123
1234
1 2 3 4 5 6 7 8 9 10 11 12 13 14 15 16 17 18 19 20 21 22 23 24
Figure 4-3 Determination of Diagnostic Reading Data (all data for one bar code label)
If the CLV is set to send bar code data immediately, it will
stop scanning after the programmed number of multiple
reads has been fulfilled.
CS 12
CG = ––––– x 100% = ––––– x 100% = 50%
GCA 24

Table of Contents

Related product manuals