EasyManua.ls Logo

Siemens DP/AS-Interface Link 20E - Page 24

Siemens DP/AS-Interface Link 20E
160 pages
Print Icon
To Next Page IconTo Next Page
To Next Page IconTo Next Page
To Previous Page IconTo Previous Page
To Previous Page IconTo Previous Page
Loading...
Technical Description, Installation Instructions, Operation
24
DP/AS-Interface Link 20E
Release 11/2002
C79000-G8976-C138–04
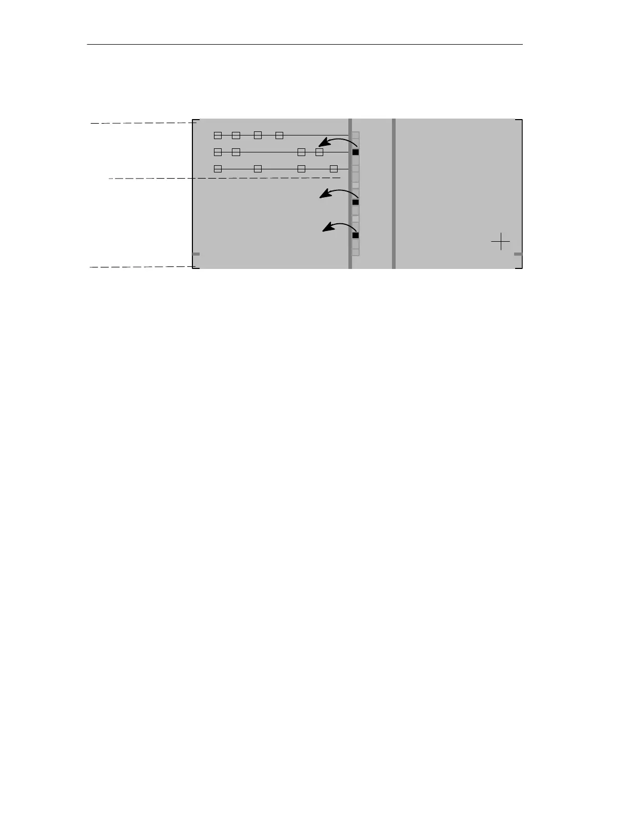
Example of a Slave Display
RUN
APF
CER
AUP
CM
DP/AS-Interface Link 20+
1
2
3
4
5
6
7
8
0
9
10
11
12
13
14
15
16
17
18
19
20
21
22
23
24
25
26
27
28
29
30
31
X 2
3 4
BF
SF
ADR
Group Display
– 3 LEDs
Slave Display
– 5 LEDs
Display elements
6GK1 415-2AA00
Figure 1-4 Example of a Slave Display
From the display you can obtain the following information:
S The group LEDs indicate the second group of five.
S Within this group, the active AS-i slaves 6 and 8 are displayed by the lower five
LEDs.

Table of Contents

Related product manuals