EasyManua.ls Logo

Singer S18 - Zigzag Stitch Pattern 08

Singer S18
75 pages
Print Icon
To Next Page IconTo Next Page
To Next Page IconTo Next Page
To Previous Page IconTo Previous Page
To Previous Page IconTo Previous Page
Loading...
32
1.0 5.0
2.0
7.0
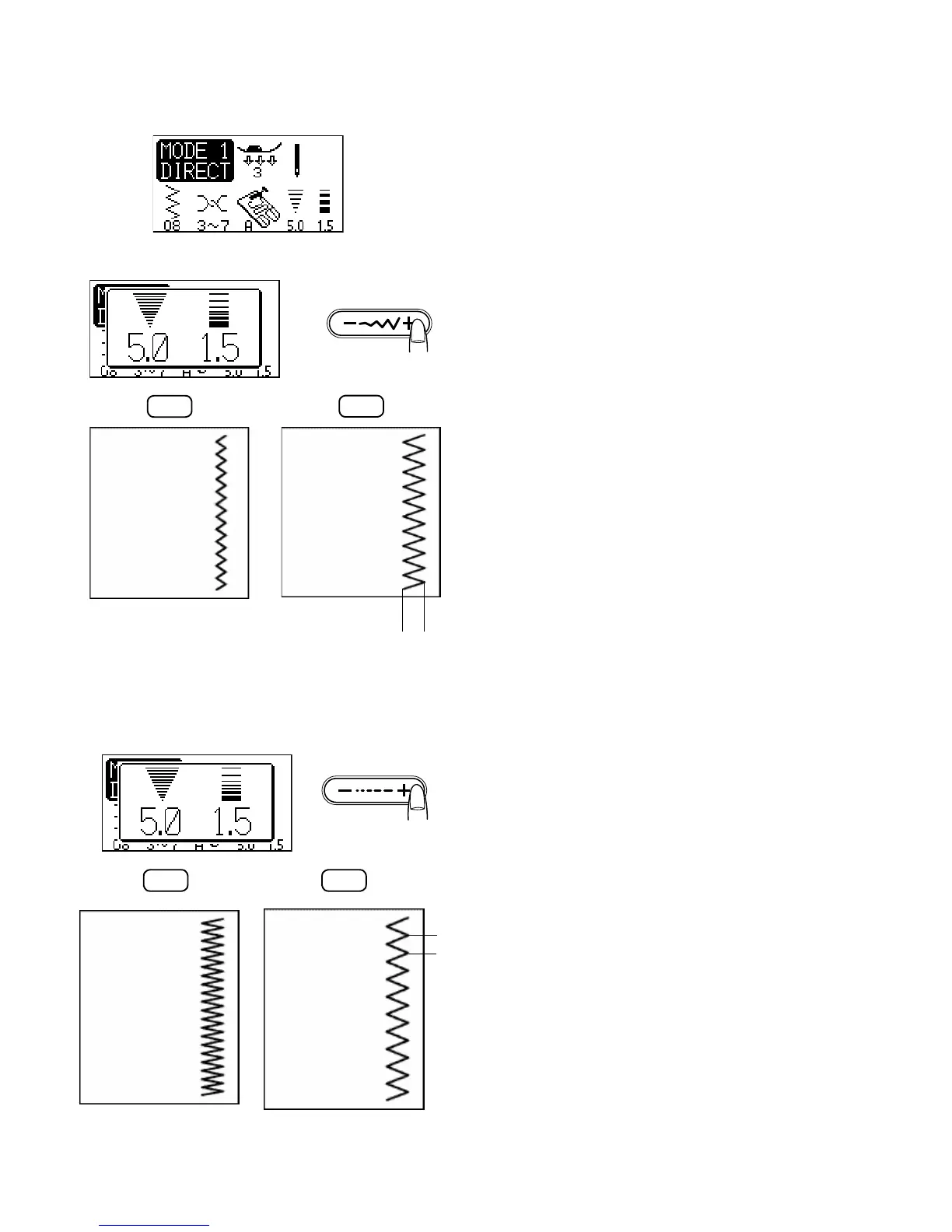
Zigzag Stitch Pattern 08
Machine Setting
Stitch pattern: 08 (Mode 1)
Thread tension: 3-7
Presser foot: General purpose foot A
Foot pressure: 3
The zigzag stitch pattern is used for various sewing
techniques including overcasting.
A dense zigzag stitch pattern is called a satin stitch, and
is most commonly used for appliqué. Satin stitching feeds
more evenly with the F foot. The foot offers a channel for
the compact stitching to travel.
Adjusting the stitch width
Press the right side of the button (+ sign) to increase the
stitch width.
Press the left side of the button (- sign) to decrease the
stitch width.
1 Stitch width
Adjusting the stitch length
Press the right side of the button (+ sign) to increase the
stitch length.
Press the left side of the button (- sign) to decrease the
stitch length.
2 Stitch length
NOTE
The stitch length and width can be altered while stitching.
1
2

Table of Contents

Other manuals for Singer S18

Related product manuals