EasyManua.ls Logo

Singer S18 - Piecing and Quilting; Piecing with Quarter Inch Seams; Decorative Stitch Patterns for Quilting

Singer S18
75 pages
Print Icon
To Next Page IconTo Next Page
To Next Page IconTo Next Page
To Previous Page IconTo Previous Page
To Previous Page IconTo Previous Page
Loading...
39
PIECING AND QUILTING
(Mode 2)
Piecing with Quarter Inch Seams
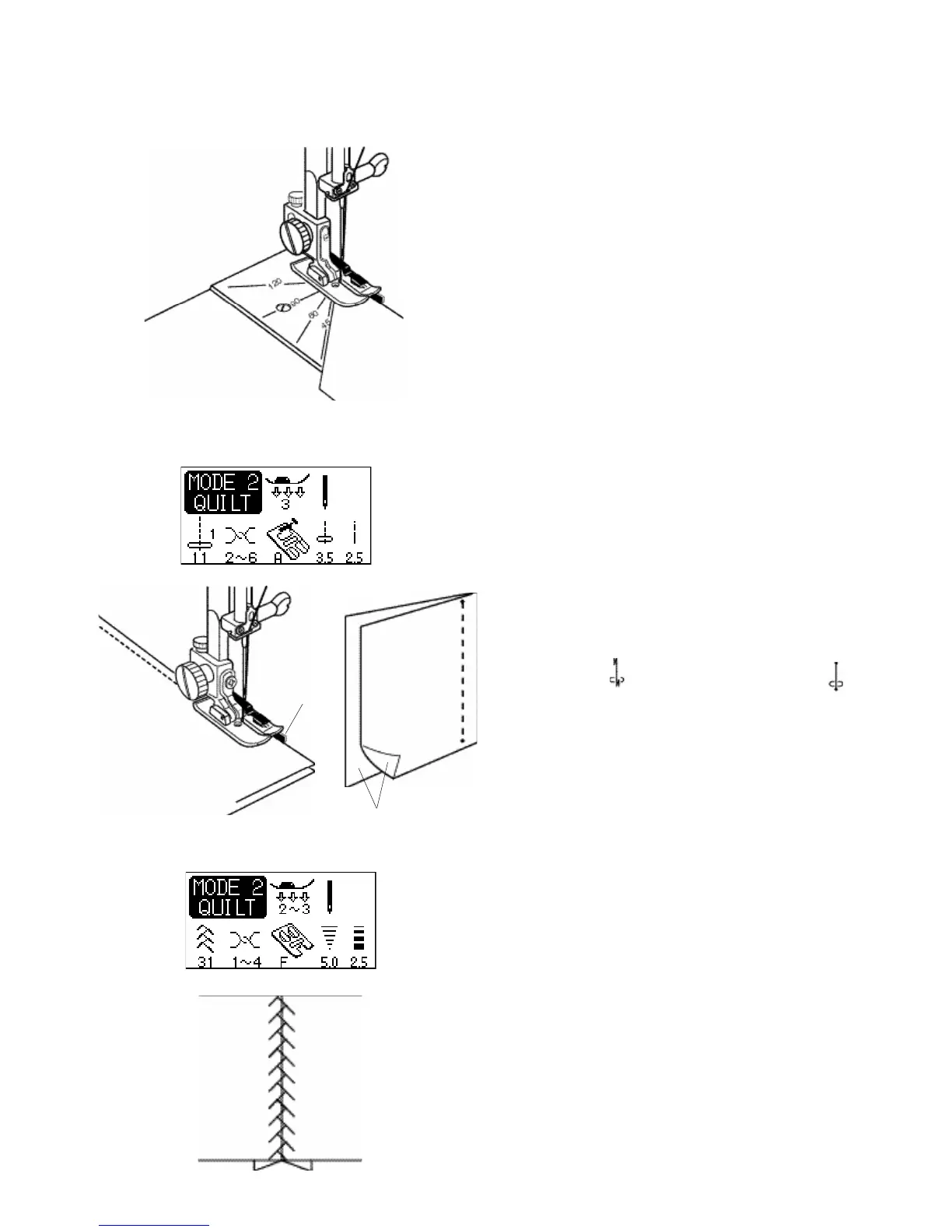
Angle scale on the needle plate
Your needle plate is marked with 4 common angles sewn
in piecing. The angle scales are marked at 45, 60, 90 and
120 degrees. Attach the quarter inch foot with guide O on
the presser foot holder. Select stitch pattern 11 in Mode 2.
Align the angle of the cut fabrics with the desired angle on
the needle plate. Lower the needle into the fabric and sew
an exact 1/4” seam.
Locked Quarter Inch Seams
Machine Setting
Stitch pattern: 11 (Mode 2)
Thread tension: 2-6
Presser foot: Quarter inch foot with guide O
Foot pressure: 3
Stitch pattern 03 and auto lock stitch pattern 04 in
Mode 1 are ideal for seaming fabric pieces together.
Place the fabric pieces right sides together. Align needle
into fabric 1/8” into the seam. Start sewing and guiding
the edge of the fabric along the guide on the foot to keep a
precise 1/4” seam allowance.
1 Guide
2 Right sides of the fabric
Decorative Stitch Patterns for Quilting
Use machine decorative stitches to embellish quilts.
Machine Setting
Stitch pattern: See below
Thread tension: 1-4
Presser foot: Satin stitch foot F
Foot pressure: 2-3
The decorative stitch patterns 28-32 and 61-68 in Mode 2
can be used to replicate decorative hand stitching.
Open seam flat with the right side of the fabric up. Sew
decorative stitch patterns over the seam line.
1
2

Table of Contents

Other manuals for Singer S18

Related product manuals