EasyManua.ls Logo

Smeg CWC620D - Page 11

Smeg CWC620D
35 pages
Print Icon
To Next Page IconTo Next Page
To Next Page IconTo Next Page
To Previous Page IconTo Previous Page
To Previous Page IconTo Previous Page
Loading...
‐CW620/630
11
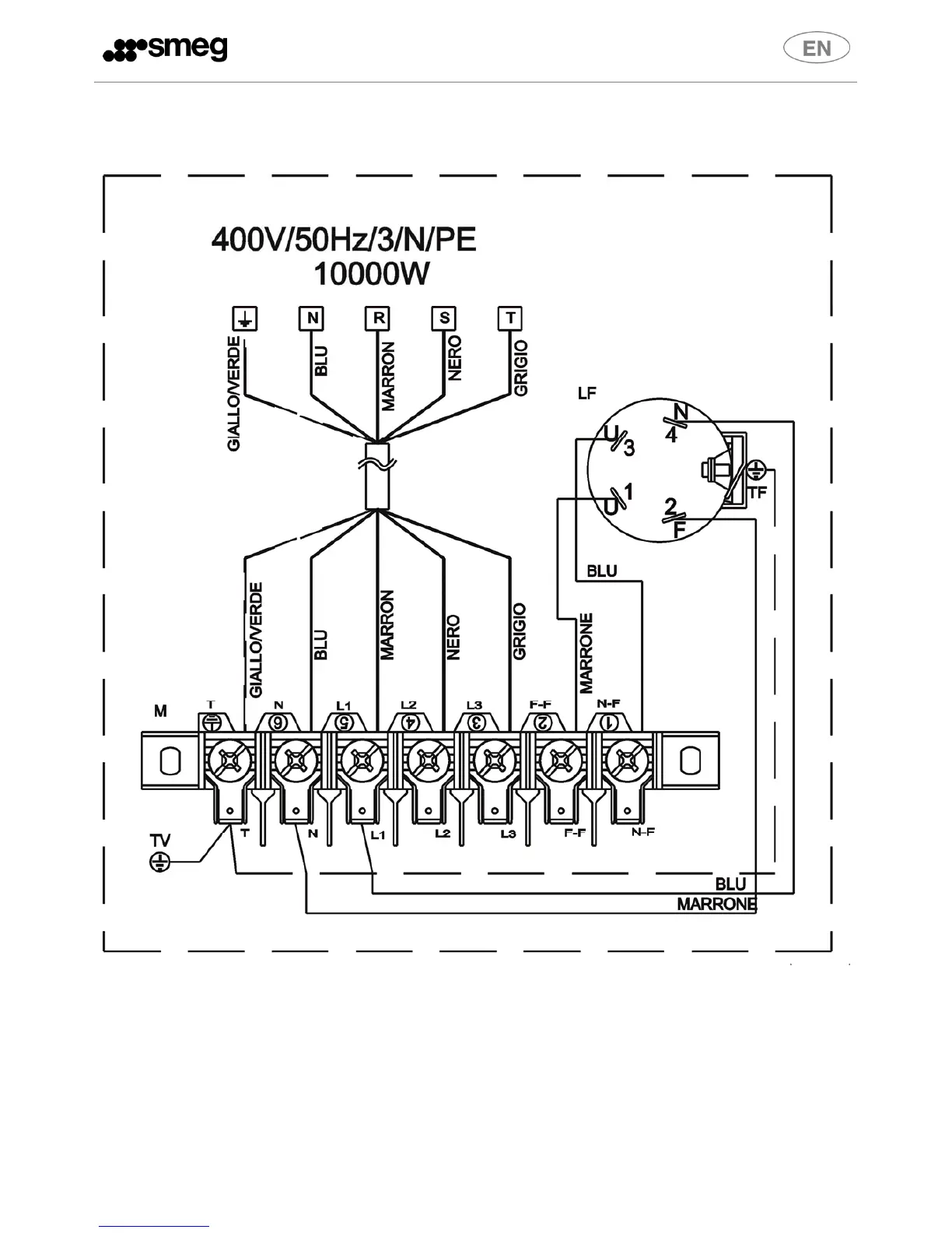
Figure1Applianceelectricalconnectiondiagram

Table of Contents

Related product manuals