EasyManua.ls Logo

Sony HCD-D170 - Base Unit Section (BU-5 BD19) Oe

Sony HCD-D170
68 pages
Print Icon
To Next Page IconTo Next Page
To Next Page IconTo Next Page
To Previous Page IconTo Previous Page
To Previous Page IconTo Previous Page
Loading...
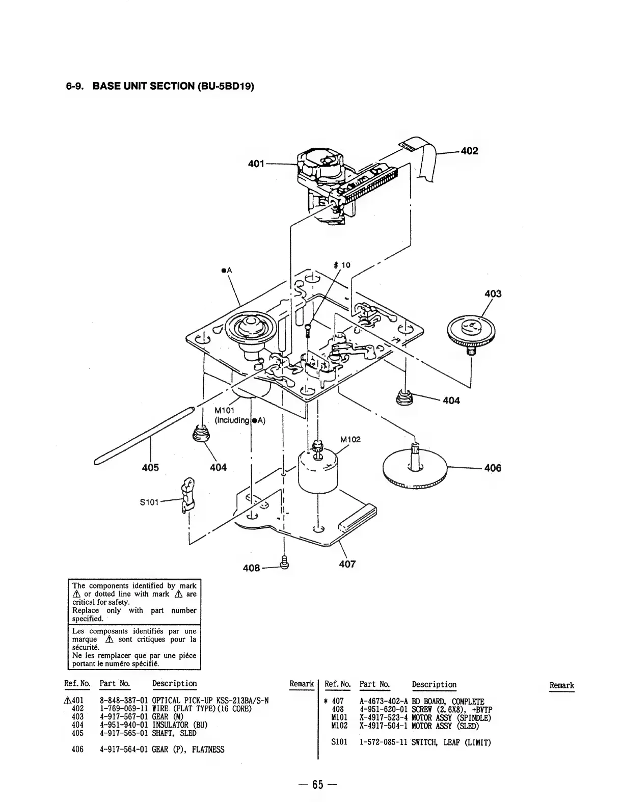
6-9.
BASE
UNIT
SECTION
(BU-5BD19)
405
$101
The
components
identified
by
mark
A\
or
dotted
line
with
mark
A\
are
critical
for
safety.
Replace
only
with
part
number
specified.
Les
composants
identifiés
par
une
marque
\
sont
critiques
pour
la
sécurité.
Ne
les
remplacer
que
par
une
piéce
portant
le
numéro
spécifié.
Ref.No.
Part
No.
Description
A401
8-848-387-01
OPTICAL
PICK-UP
KSS-213BA/S-N
402
1-769-069-11
WIRE.
(FLAT
TYPE)
(16
CORE)
403°
4-917-567-01
GEAR
(M)
404
4-951-940-01
INSULATOR
(BU)
405
4-917-565-01
SHAFT,
SLED
406
4-917-564-01
GEAR
(P),
FLATNESS
Remark
|
Ref.
No.
*
407
408
M101
M102
S101
402
403
O
Qari
406
Part
No.
Description
Remark
A-4673-402-A
BD
BOARD,
COMPLETE
4-951-620-01
SCREW
(2.
6X8),
+BVTP
X-4917-523-4
MOTOR
ASSY
(SPINDLE)
X-4917-504-1
MOTOR
ASSY
(SLED)
1-572-085-11
SWITCH,
LEAF
(LIMIT)

Related product manuals