EasyManua.ls Logo

Sony SLV-D360P - Page 40

Sony SLV-D360P
123 pages
Print Icon
To Next Page IconTo Next Page
To Next Page IconTo Next Page
To Previous Page IconTo Previous Page
To Previous Page IconTo Previous Page
Loading...
1-30
123
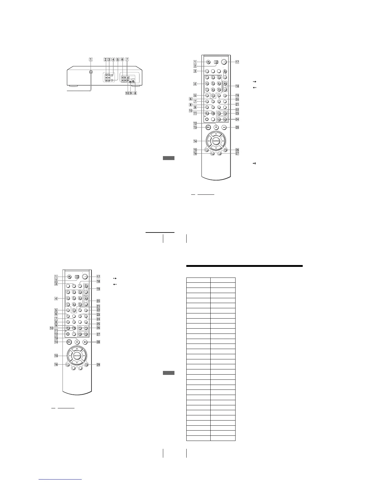
Index to parts and controls
Additional Information
Rear panel
DVD player and VCR
A AC power cord (13) (16)
B LINE IN 1 VIDEO/AUDIO L/R jacks
(108)
C LINE OUT VIDEO/AUDIO L/R jacks
(14)
D IN (FROM ANT.) connector (15)
E OUT (TO TV) connector (15)
DVD player only
F LINE OUT AUDIO L/R jacks (64)
G COMPONENT VIDEO OUT Pr/Pb/Y
jacks (65)
H S-VIDEO OUT jack (64)
I DIGITAL AUDIO OUT/OPTICAL jack
(63)
J DIGITAL AUDIO OUT/COAXIAL jack
(63)
continued
124
Index to parts and controls
Remote commander for DVD
A Z (open/close) button (33) (35)
B TV
/ DVD·VIDEO switch (10)
C SELECT DVD button (10)
D Number buttons*
1
(29)
E CLEAR button (83)
F ANGLE button (80)
G SET UP button (20)
H SUBTITLE button (81)
I AUDIO button*
1
(87)
J
SKIP button (34)
K
REPLAY
button (34)
L X PAU S E button (34)
M H PLAY button*
1
(34)
N V/v/B/b buttons (20)
ENTER button*
2
(20)
O DISPLAY button (39)
P TOP MENU button (77)
Q ?/1 (on/standby) switch (11) (36)
R VOL (volume) +/– buttons (11)
S ZOOM button (79)
T ENTER button*
2
(20)
U REPEAT button (82)
V SURROUND button (88)
W
m/M y
buttons (34)
X .PREV (previous)/> NEXT
button (34)
Y x STOP button (34)
Z O RETURN button (23)
wj MENU button (77)
*
1
Number 5, AUDIO and H PLAY buttons
have a tactile dot. Use the tactile dot as a
reference.
*
2
The ENTER buttons 14 and 20 can be used
interchangeably.
125
Index to parts and controls
Additional Information
Remote commander for VIDEO
A Z (eject) button (43)
B TV
/ DVD·VIDEO switch (10)
C SELECT VIDEO button (10)
D Number buttons*
1
(29)
E CLEAR button (44) (49)
F SET UP button (20)
G TIMER button (48)
H AUDIO button*
1
(102)
I
SKIP button (43)
J
REPLAY button (43)
K SP (Standard Play)/EP (Extended Play)
button (46)
L z REC (record) button (46)
M X PAUSE button (43)
N H PLAY button*
1
(42)
O V/v/B/b buttons (20)
ENTER button*
2
(20)
P DISPLAY button (44)
Q ?/1 (on/standby) switch (11) (43)
R VCR Plus+ button*
3
(56)
S CH (channel)/TRACKING +/– buttons*
1
(45) (105)
T VOL (volume) +/ buttons (11)
U ENTER button*
2
(20)
V MUTING button (11)
W SEARCH button (103)
X TV/VIDEO button (47)
Y INPUT SELECT button (47)
Z
m
(rewind)/
M
(fast-forward)/
y
(slow)
buttons (43)
wj ./> SHUTTLE button (43)
wk x STOP button (43)
wl O RETURN button (57)
*
1
Number 5, AUDIO, H PLAY and
CH/TRACKING + buttons have a tactile dot.
Use the tactile dot as a reference.
*
2
The ENTER buttons 15 and 21 can be used
interchangeably.
*
3
SLV-D560P only
126
DVD Audio/Subtitle Language
DVD Audio/Subtitle Language
Abbreviation Language
ARA Arabic
BUL Bulgarian
CHI Chinese
CRO Croatian
CZE Czech
DAN Danish
DEU German
ENG English
ESP Spanish
FIN Finish
FRA French
GRE Greek
HUN Hungarian
IDN Indonesian
IND Hindi
ISL Icelandic
ITA Italian
IWR Hebrew
JPN Japanese
KOR Korean
MAL Malay
NLD Dutch
NOR Norwegian
POL Polish
POR Portuguese
RUSRussian
SVE Swedish
THA Thai
TUR Turkish
VIE Vietnamese
ZAF Afrikaans

Table of Contents

Related product manuals