EasyManua.ls Logo

Sony UP-897MD - Exploded Views

Sony UP-897MD
68 pages
Print Icon
To Next Page IconTo Next Page
To Next Page IconTo Next Page
To Previous Page IconTo Previous Page
To Previous Page IconTo Previous Page
Loading...
Cover
and
Chassis
Block
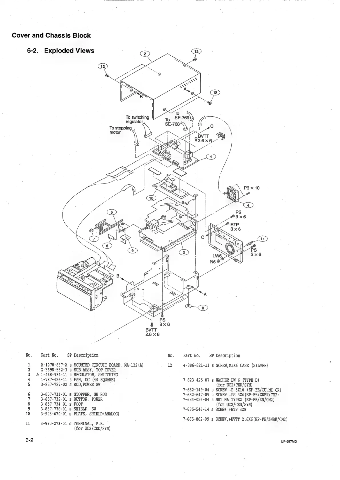
6-2.
.Exploded
Views
To
switching
regulator
To
stepping
motor
No.
Part
No.
SP
Description
No.
Part
No.
SP
1
A-1078-887-A
s
MOUNTED
CIRCUIT
BOARD,
MA-132(A)
12
4-886-821-11
s
2
X-3698-532-3
s
SUB
ASSY,
TOP
COVER
3.
A
1-468-934-11
s
REGULATOR,
SWITCHING
4
1-787-426-11
s
FAN,
DC
(40
SQUARE)
7-623-425-07
s
5
3-857-727-02
s
ROD,
POWER
SW
7-682-149-04
s
6
3-857-731-01
s
STOPPER,
SW
ROD
7-682-647-09
s
7
3-857-732-01
s
BUTTON,
POWER
7-€84-026-04
s
8
3-857-734-01
s
FOOT
9
3-857-736-01
s
SHIELD,
SW
7-685-546-14
s
10
3-903-670-01
s
PLATE,
SHIELD
(ANALOG)
7-685-862-09
s
11
3-990-273-01
¢
TERMINAL,
P.E.
(for
UC2/CED/SYN)
Description
SCREW,
M3X6
CASE
(SILVER)
WASHER
LW
6
(TYPE
B)
(for
UC2/CED/SYN
SCREW
+P
3X10.
(EP-FE/CU,NI,
CR)
SCREW
+PS
3X6
(EP-FE/ZNBK/CM2)
NUT
M6
TYPE2
(EP-FE/ZN/CM2)
(for
UC2/CED/SYN
SCREW
+BTP
3X8
SCREW,
+BVIT
2.6X6
(EP-FE/ZNBK/CM2)
UP-897MD

Table of Contents

Other manuals for Sony UP-897MD

Related product manuals