EasyManua.ls Logo

Sony UP-897MD - Page 43

Sony UP-897MD
68 pages
Print Icon
To Next Page IconTo Next Page
To Next Page IconTo Next Page
To Previous Page IconTo Previous Page
To Previous Page IconTo Previous Page
Loading...
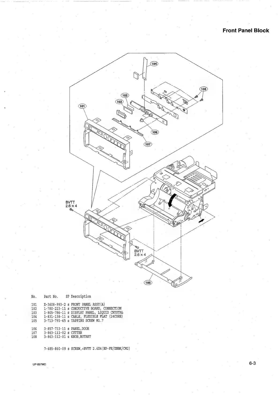
No.
Part
No.
SP
101
X-3608-993-2
102
1-780-223-11
s
103
1-805-786-11
s
104
1-831-138-11
s
105
3-713-791-45
s
106
3-857-733-11
s
107
3-863-111-02
s
108
3-863-112-01
s
7-685-860-09
s
UP-897MD
Description
FRONT
PANEL
ASSY
(A)
CONDUCTIVE
BOARD,
CONNECTION
DISPLAY
PANEL,
LIQUID
CRYSTAL
CABLE,
FLEXIBLE
FLAT
(24CORE)
TAPPING
SCREW
M1.7
PANEL
,
DOOR
CUTTER
KNOB
,
ROTARY
SCREW,
+BVIT
2.6X4
(EP-FE/ZNBK/CM2)
Front
Panel
Block
6-3

Table of Contents

Other manuals for Sony UP-897MD

Related product manuals