EasyManua.ls Logo

Sony UP-897MD - Page 44

Sony UP-897MD
68 pages
Print Icon
To Next Page IconTo Next Page
To Next Page IconTo Next Page
To Previous Page IconTo Previous Page
To Previous Page IconTo Previous Page
Loading...
Mecha
Deck
Block
1
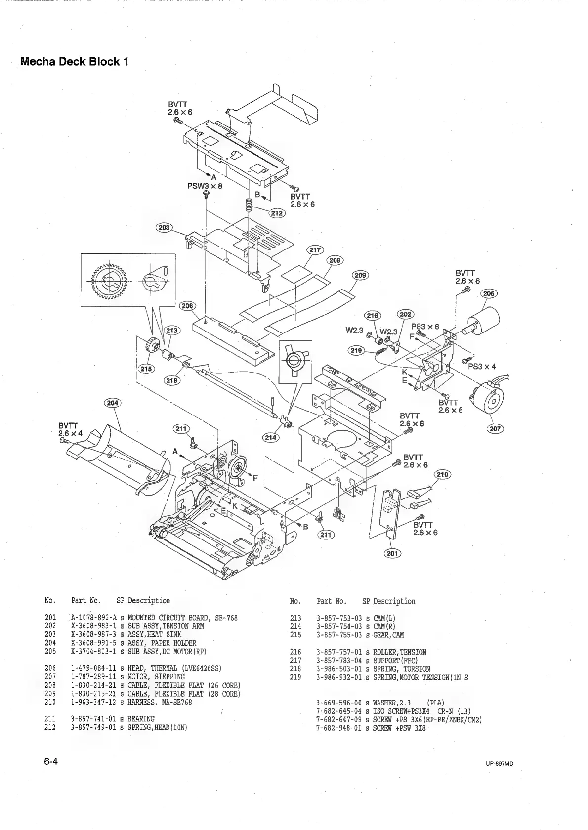
No.
Part
No.
SP
201
=
A-1078-892-A
s
202
X-3608-983-1
$
203
X-3608-987-3
s
204
X-3608-991-5
§
205
X-3704-803-1
s
206
1-479-084-11
s
207
1-787-289-11
s
208
1-830-214-21
s
209
1-830-215-21
s
210
1-963-347-12
s
211
3-857-741-01
s
212
3-857-749-01
s
Description
MOUNTED
CIRCUIT
BOARD,
SE-768
SUB
ASSY,
TENSION
ARM
ASSY,HEAT
SINK
ASSY,
PAPER
HOLDER
SUB
ASSY,DC
MOTOR
(RP)
HEAD,
THERMAL
(LVE6426$S)
MOTOR,
STEPPING
CABLE,
FLEXIBLE
FLAT
(26
CORE)
CABLE,
FLEXIBLE
FLAT
(28
CORE)
HARNESS,
MA-SE768
BEARING
SPRING
,
HEAD
(10N)
No.
213
214
215
216
217
218
219
Part
No.
3-857-753-03
3-857-754-03
3-857-755-03
3-857-757-01
3-857-783-04
3-986-503-01
3-986-932-01
3-669-596-00
7-682-645-04
7-682-647-09
7-682-948-01
SP
nnn
n
Description
CAM
(L)
CAM
(R)
GEAR
,
CAM
ROLLER
,
TENSION
SUPPORT
(FFC)
SPRING,
TORSION
SPRING,MOTOR
TENSION
(1N)
$
WASHER,
2.3
(PLA)
ISO
SCREW+PS3X4
CR-N
(13)
SCREW
+PS
3X6
(EP-FE/ZNBK/CM2)
SCREW
+PSW
3X8
UP-897MD

Table of Contents

Other manuals for Sony UP-897MD

Related product manuals