EasyManua.ls Logo

Sony UP-960 - Page 14

Sony UP-960
Print Icon
To Next Page IconTo Next Page
To Next Page IconTo Next Page
To Previous Page IconTo Previous Page
To Previous Page IconTo Previous Page
Loading...
14
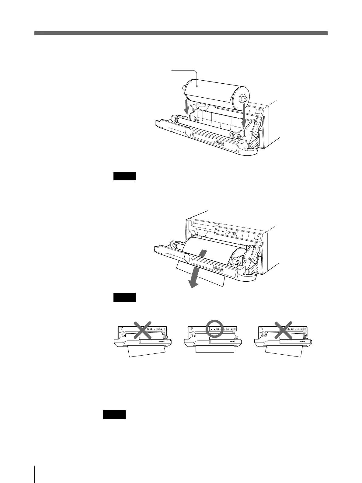
準備
3 プリンター ー内にれます。
4 紙をから入、排ら引き出します。
ご注意
挿入口の中心付近(ガイ内側)紙をセしてださい挿入口の端(ガの外側)
用紙が紙づれがすのでご注意ださい
ご注意
しわやたがないに用を引してださい
5 OPEN/CLOSEを押パネルをめます
は手で押して閉め
ご注意
プリンター 取り付あとはFEEDを押15 20cmしてださ
い。
感熱面を上にして入れます。
逆に入れるとプリントされま
せん。
プリンター用紙を取り付ける(つづき)

Table of Contents

Other manuals for Sony UP-960

Related product manuals