EasyManua.ls Logo

SPE EXPERT 1.5K-FA TAURUS - QSK (Full Break-In) Operation

SPE EXPERT 1.5K-FA TAURUS
92 pages
Print Icon
To Next Page IconTo Next Page
To Next Page IconTo Next Page
To Previous Page IconTo Previous Page
To Previous Page IconTo Previous Page
Loading...
User manual
Expert 1.5K-FA
TAURUS
INDEX Page. 18 of 92
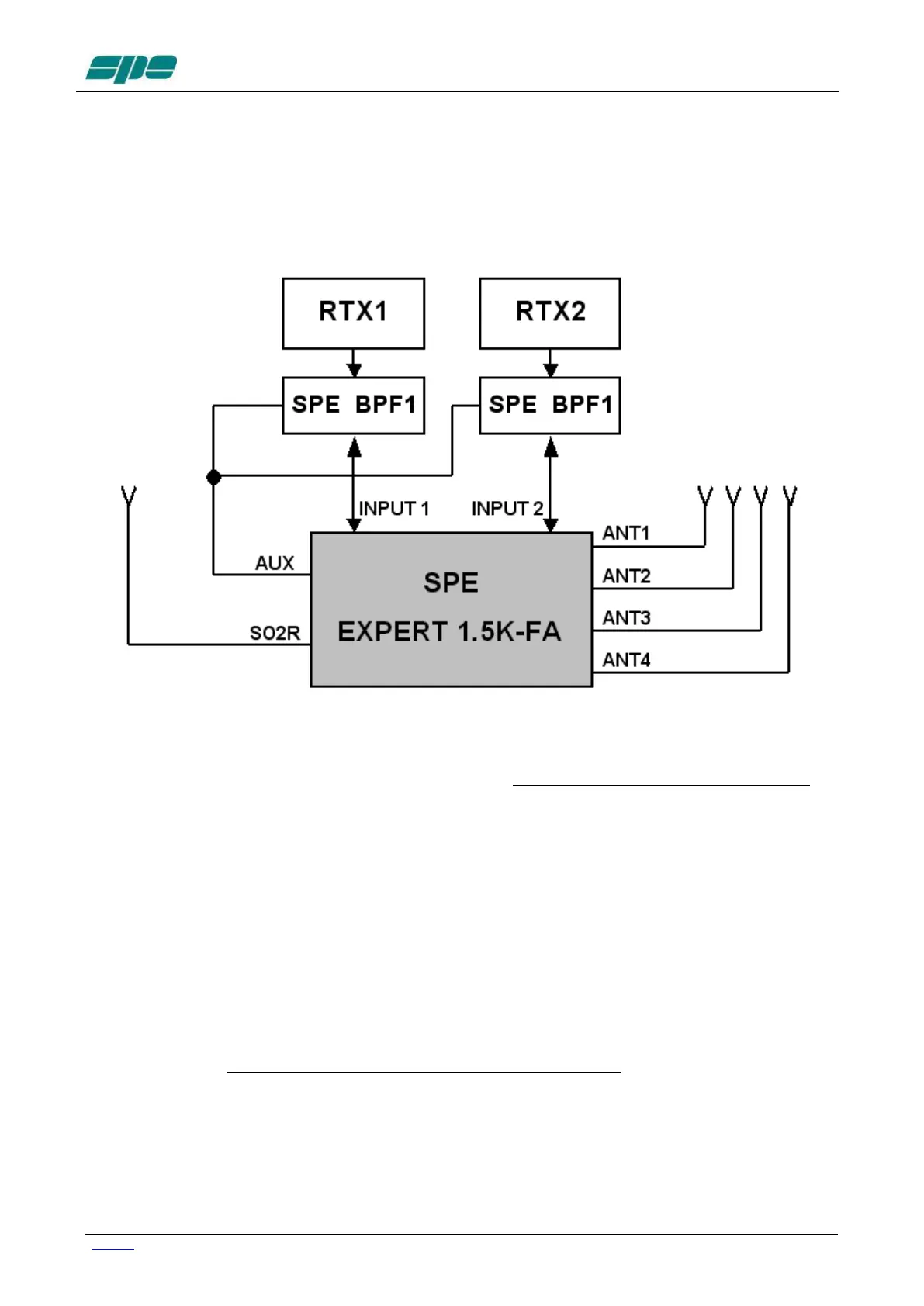
Contest SO2R.
In this case the amplifier is connected to two transceivers and two "SPE BPF1" in order to
automatically select the right filters in the output of both the transceivers.
These features can be possible, as well, with the simultaneous use of the unit "AMB-01”
(see item 4.1).
To ensure the proper functionality of these options, CAT connector control is mandatory.
4.3 QSK (Full Break-In) Operation
The Expert 1.5K-FA also allows QSK (FULL BREAK-IN) operation. Thanks to the correct
control used on the RX / TX switching relays, any possibility of "hot switching" is
avoided.
This feature is compatible with all modern transceivers, in fact the minimum delay required
before a transmission is usually less than 6 msec. (check the manual of the transceiver).
In the case (and it is very remote) of minor delay needed, you can use the link TX - INH
(see "CAT" paragraph).
Special very reliable, “noiseless”, with high mechanical performance, gold plated relays
are used so that the “vacuum relays” option is no longer required.

Table of Contents