EasyManua.ls Logo

SPE EXPERT 1.5K-FA TAURUS - Other Connections; 13.1 ALC, Relay Connections; 13.2 Remote- on Link

SPE EXPERT 1.5K-FA TAURUS
92 pages
Print Icon
To Next Page IconTo Next Page
To Next Page IconTo Next Page
To Previous Page IconTo Previous Page
To Previous Page IconTo Previous Page
Loading...
User manual
Expert 1.5K-FA
TAURUS
INDEX Page. 47 of 92
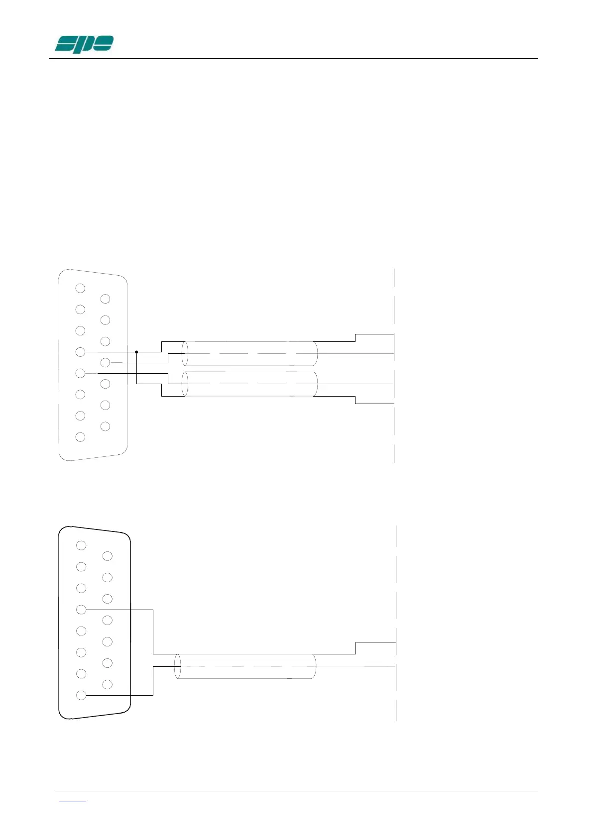
13. OTHER CONNECTIONS
On the CAT connector, in addition to the CAT signals, the ALC and RELAY controls are
the same as the RCA phone connectors. REMOTE ON, /TXINH, TXINH are also
available.
If you use this connector to connect the ALC and RELAY lines, the separate RCA phono
cables are not recommended. It is possible also to turn the amplifier on / off by turning on
/ off the transceiver using the REMOTE ON function.
The following are the possible solutions that could be integrated into the same CAT cable.
13.1 ALC, Relay Connections
13.2 Remote- ON Link
4
3
2
1
5
6
7
8
9
12
13
14
11
10
15
RADIO
CONNECTOR
GND
13.8V
DB15 M
REMOTE ON
GND
GND
RELAY
GND
ALC
GND
GND
RADIO
CONNECTOR
ALC
RELAY/
SEND/TX-GND
4
3
2
1
5
6
7
8
9
12
13
14
11
10
15
DB15 M

Table of Contents